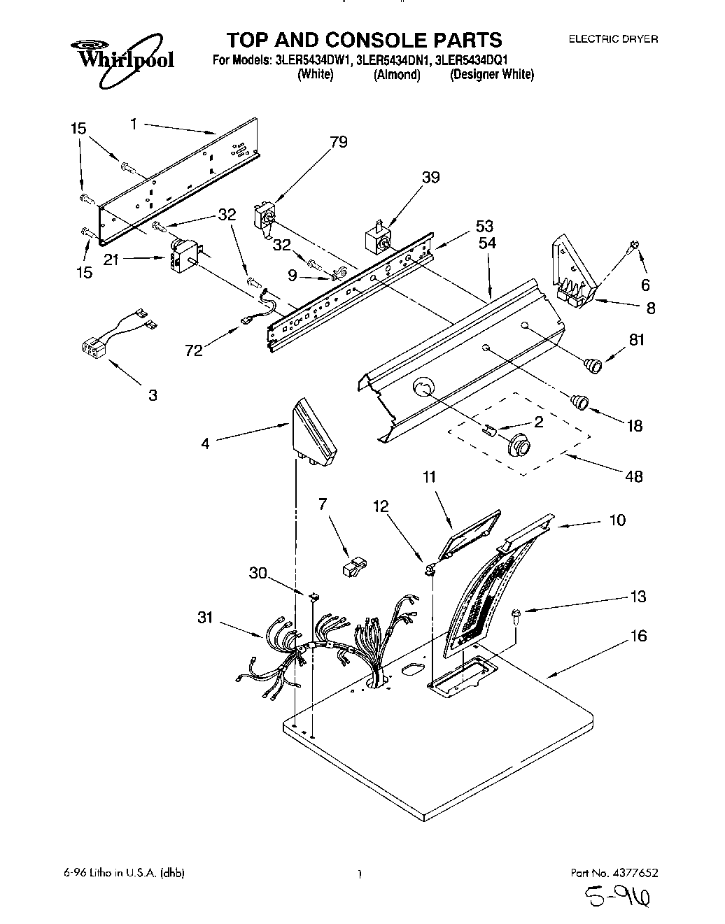
3LER5434DN1 01 – SECTION