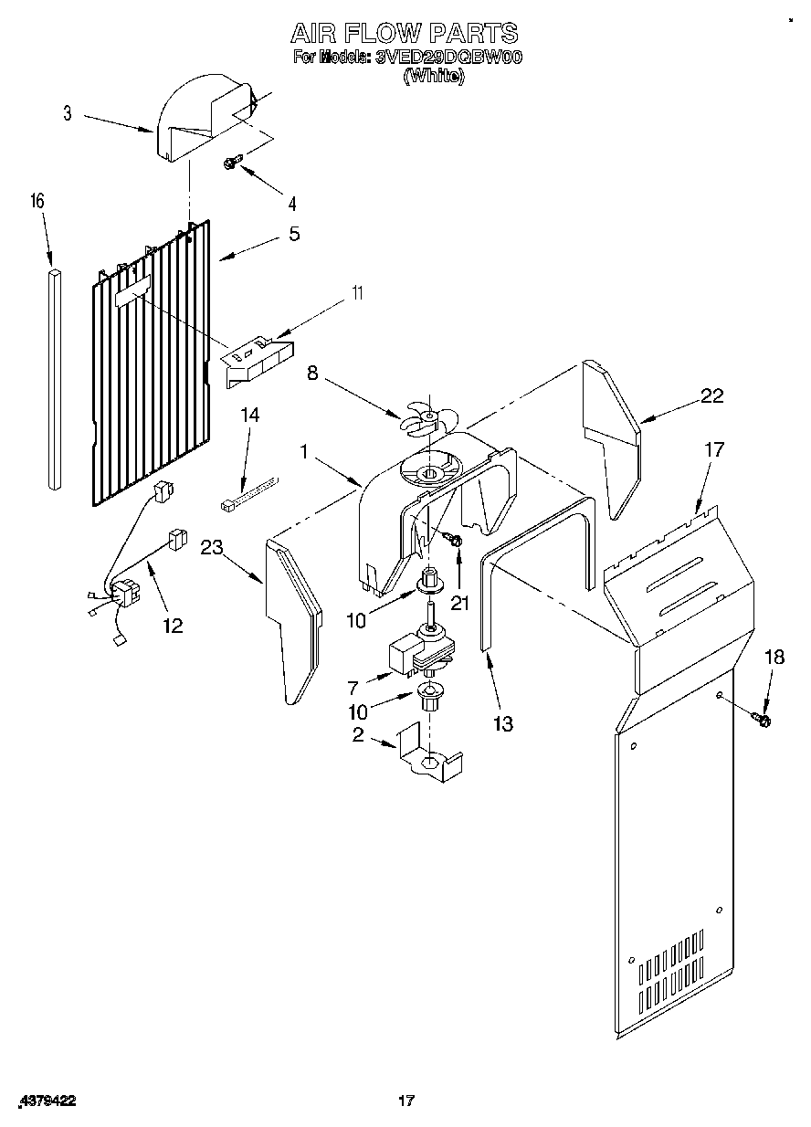
3VED29DQBW00 10 – AIR FLOW