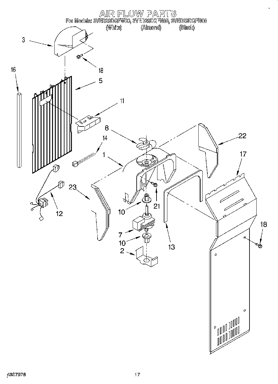
3VED29DQFB00 10 – AIR FLOW