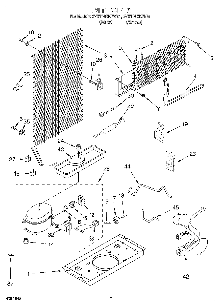
| 1 | WPW10222451 Whirlpool Refrigerator Support |
| 2 | Bumper |
| 3 | WP2252730 Whirlpool Refrigerator Condenser |
| 4 | WP2167357 Whirlpool Refrigerator Heater |
| 5 | WP965173 Whirlpool Dishwasher Screw |
| 6 | WP489442 Whirlpool Refrigerator Screw |
| 7 | Heat Shield |
| 9 | WP2174706 Whirlpool Refrigerator Pin Hitch |
| 10 | WP488163 Whirlpool Refrigerator Screw |
| 12 | WP2162358 Whirlpool Refrigerator Terminal Cover |
| 13 | 2169410 Whirlpool Refrigerator Overload |
| 14 | 876811 Whirlpool Grommet |
| 14 | WP2163786 Whirlpool Refrigerator Grommet |
| 15 | Start Relay (See Overload) |
| 16 | W10812038 Whirlpool Refrigerator Clip |
| 17 | 4388239 Whirlpool Refrigerator Primary Cabinet Roller |
| 18 | W11594405 Whirlpool Axle |
| 19 | 8201619 Whirlpool Refrigerator Support Assembly |
| 20 | WP2263919 Whirlpool Refrigerator Evaporator |
| 21 | 9791833 Whirlpool Refrigerator Clip |
| 24 | 285002 Whirlpool Nut |
| 25 | 4386951 Whirlpool Refrigerator Clip |
| 26 | Bracket, Condenser |
| 27 | Clip, Cable |
| 28 | Compressor (Includes Items 11, 12, 13, 14, 15, 21, 29, 32, 38 And 56) (Also Order) |
| 28 | Installation Kit |
| 28 | 876765 Whirlpool Primary Mounting Kit Refrigerator |
| 29 | W10843121 Whirlpool Refrigerator Tube |
| 30 | WPW10339879 Whirlpool Wire Tie |
| 32 | WP2201147 Whirlpool Refrigerator Capacitor |
| 35 | Clip, Tube |
| 37 | Clip, Compressor |
| 38 | Wire Assembly |
| 42 | Wire Assy. Unit |
| 43 | Evaporator Tray |
| 44 | Tube, Discharge |
| 45 | W11661102 Whirlpool Tube |
| 56 | VALVE, ACCESS (5/8``) |
| 56 | Start Kit |
| 56 | VALVE, ACCESS (1/2``) |
| 56 | WP978025 Whirlpool Refrigerator Valve |
| 56 | WP489128 Whirlpool Refrigerator Screw |
| 56 | 876764 Whirlpool Refrigerator Primary Valve |
| 56 | 978030 Whirlpool Refrigerator Valve |
| 56 | 978026 Whirlpool Refrigerator Primary Valve |
| 56 | 978027 Whirlpool Refrigerator Primary Valve |