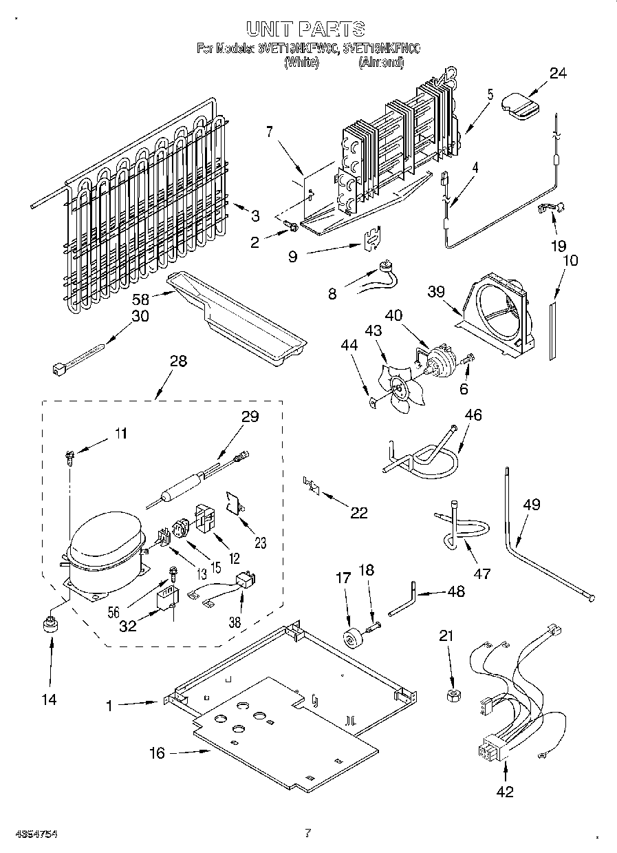
| 1 | Plate, Unit Mounting |
| 2 | WP489478 Whirlpool Refrigerator Screw |
| 3 | Condenser |
| 4 | Heater, Defrost |
| 5 | Evaporator Assy. |
| 6 | WP8281196 Whirlpool Screw |
| 7 | Drain Pan |
| 8 | WP2182381 Whirlpool Refrigerator Bimetallic Defrost |
| 9 | Bracket, Heater |
| 10 | Extension, Air Baffle |
| 11 | SCREW |
| 12 | WP2162358 Whirlpool Refrigerator Terminal Cover |
| 13 | Overload |
| 13 | Overload (Service) |
| 14 | W11661108 Whirlpool Grommet |
| 14 | 876811 Whirlpool Grommet |
| 15 | Relay (See Overload) |
| 16 | Cover, Unit |
| 17 | 4388239 Whirlpool Refrigerator Primary Cabinet Roller |
| 18 | W11594405 Whirlpool Axle |
| 19 | Clip, Heater |
| 21 | Nut (Not Serviced) |
| 22 | Clip, Capacitator |
| 23 | Clip, Wire |
| 24 | Support Block |
| 28 | 4387782 Whirlpool Compressor |
| 28 | Installation Kit |
| 28 | 876765 Whirlpool Primary Mounting Kit Refrigerator |
| 29 | W10843121 Whirlpool Refrigerator Tube |
| 30 | WPW10339879 Whirlpool Wire Tie |
| 32 | WP2201147 Whirlpool Refrigerator Capacitor |
| 38 | WP2172890 Whirlpool Refrigerator Wire |
| 39 | Air Baffle |
| 40 | 8201703 Whirlpool Refrigerator Condenser Motor |
| 42 | Wire Assy. Unit |
| 43 | Blade, Fan |
| 44 | WP486692 Whirlpool Refrigerator Nut |
| 46 | Tube, Discharge |
| 47 | Tube, Suction |
| 48 | 2154109 Whirlpool Refrigerator Tube |
| 49 | Tube, Condenser To Heat Loop |
| 56 | W11693756 Whirlpool Screw Assembly |
| 58 | VALVE, ACCESS (5/8``) |
| 58 | Start Kit |
| 58 | 876764 Whirlpool Refrigerator Primary Valve |
| 58 | VALVE, ACCESS (1/2``) |
| 58 | 978027 Whirlpool Refrigerator Primary Valve |
| 58 | Evap. Tray |
| 58 | 978030 Whirlpool Refrigerator Valve |
| 58 | WP978025 Whirlpool Refrigerator Valve |
| 58 | 978026 Whirlpool Refrigerator Primary Valve |