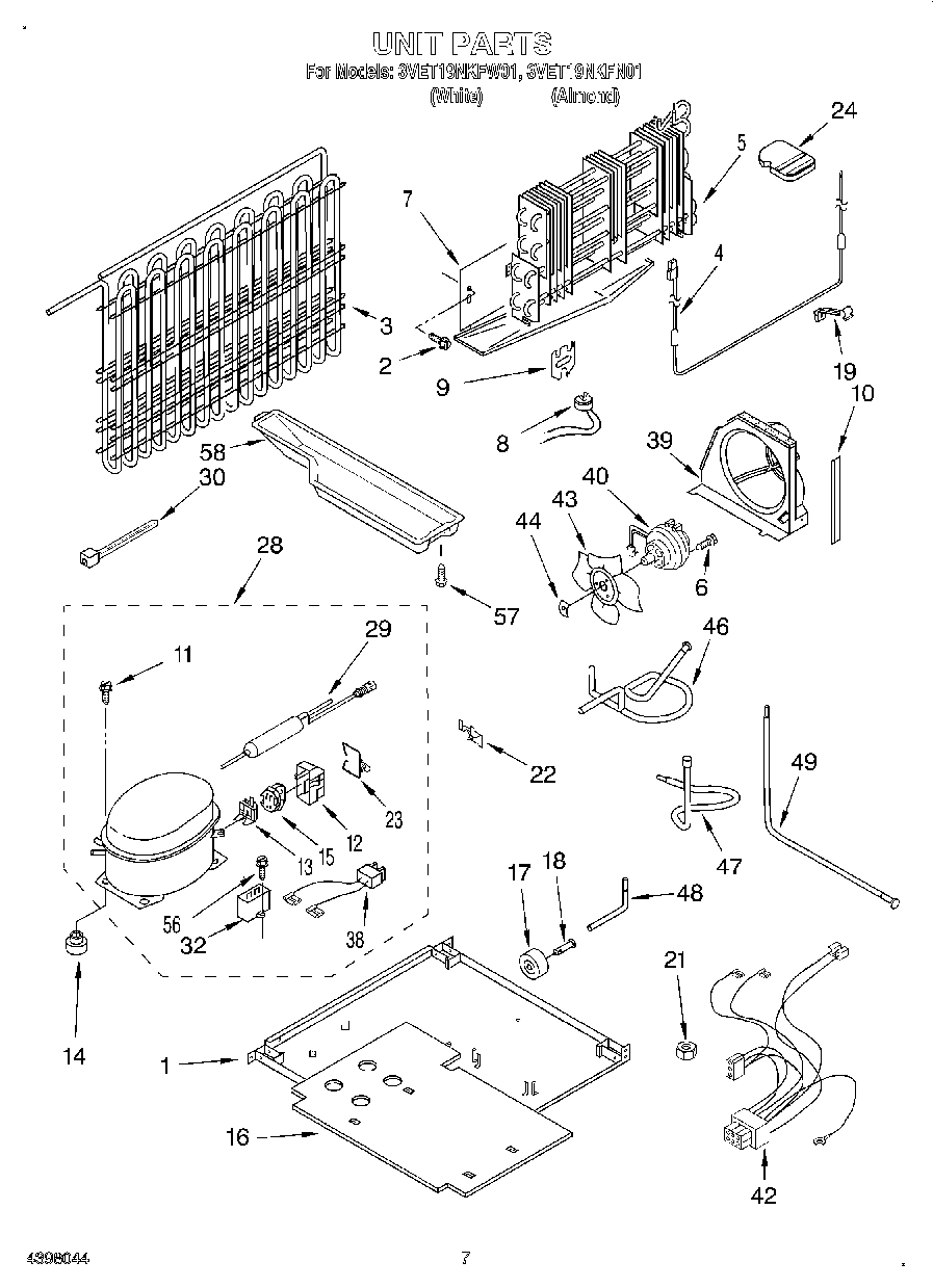
3VET19NKFW01 04 – UNIT