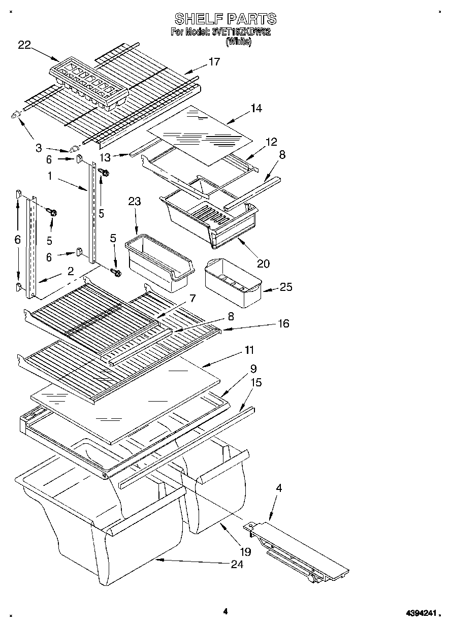
3VET19ZKDW02 03 – SHELF