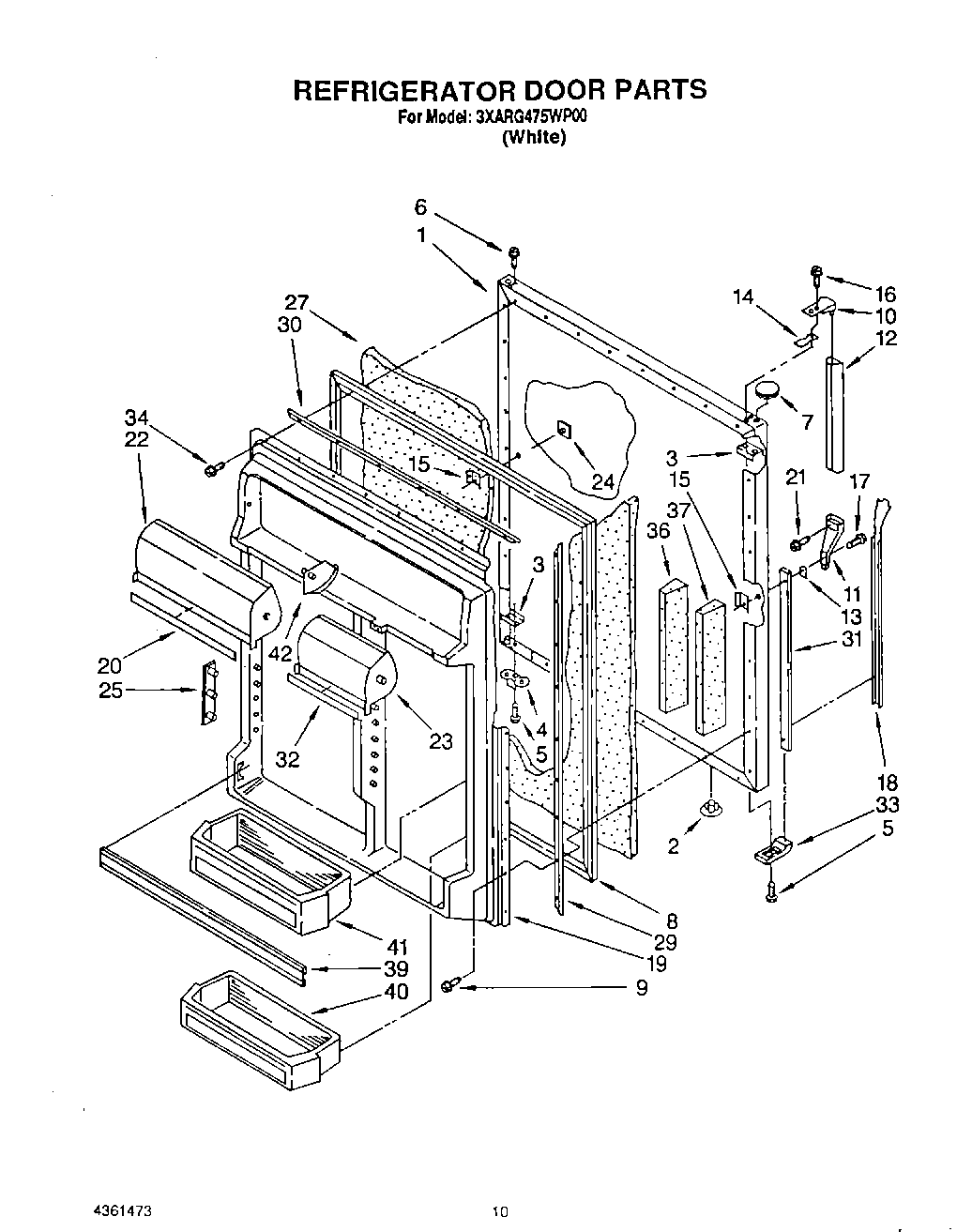
3XARG475WP00 06 – REFRIGERATOR DOOR