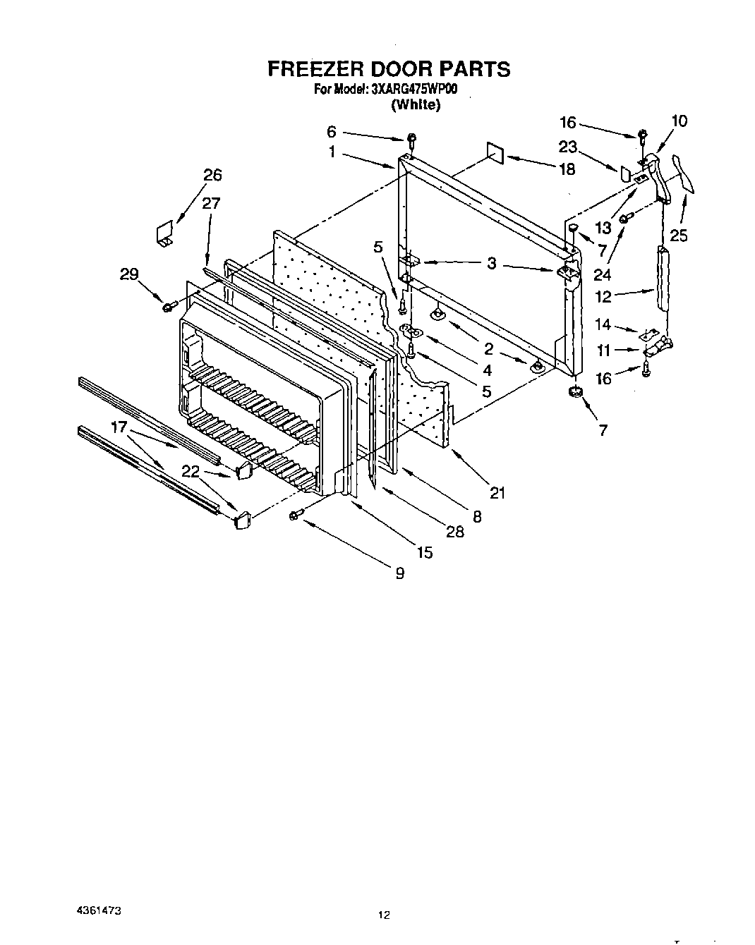
3XARG475WP00 07 – FREEZER DOORadmin2025-04-26T11:36:02+00:003XARG475WP00 07 – FREEZER DOOR ProductsPositionProduct1Panel, Freezer Door (Also Order Item 21) (White)2Hole Plug (2)3W10833053 Whirlpool Refrigerator Plate4Bracket, Door Stop5WP488921 Whirlpool Refrigerator Screw6WP8281206 Whirlpool Refrigerator Screw7WP2212648 Whirlpool Refrigerator Hinge Sleeve Hole Plug8Door Gasket, Magnetic9WP489069 Whirlpool Compactor Screw10Handle End, Top11Handle End12Handle, Center (White)13Shim, Handle14Spa15Interior Door Panel16WP488920 Whirlpool Refrigerator Screw17Trim, Door Shelf (2)18Nameplate19Tape Strip21WPL 876029224386917 Whirlpool Endcap Kit23Shim, EndCap (Top)24Screw25Insert, Handle26Divider-Door27WPL 111513728WPL 111513829WP488729 Whirlpool Refrigerator Door Screw