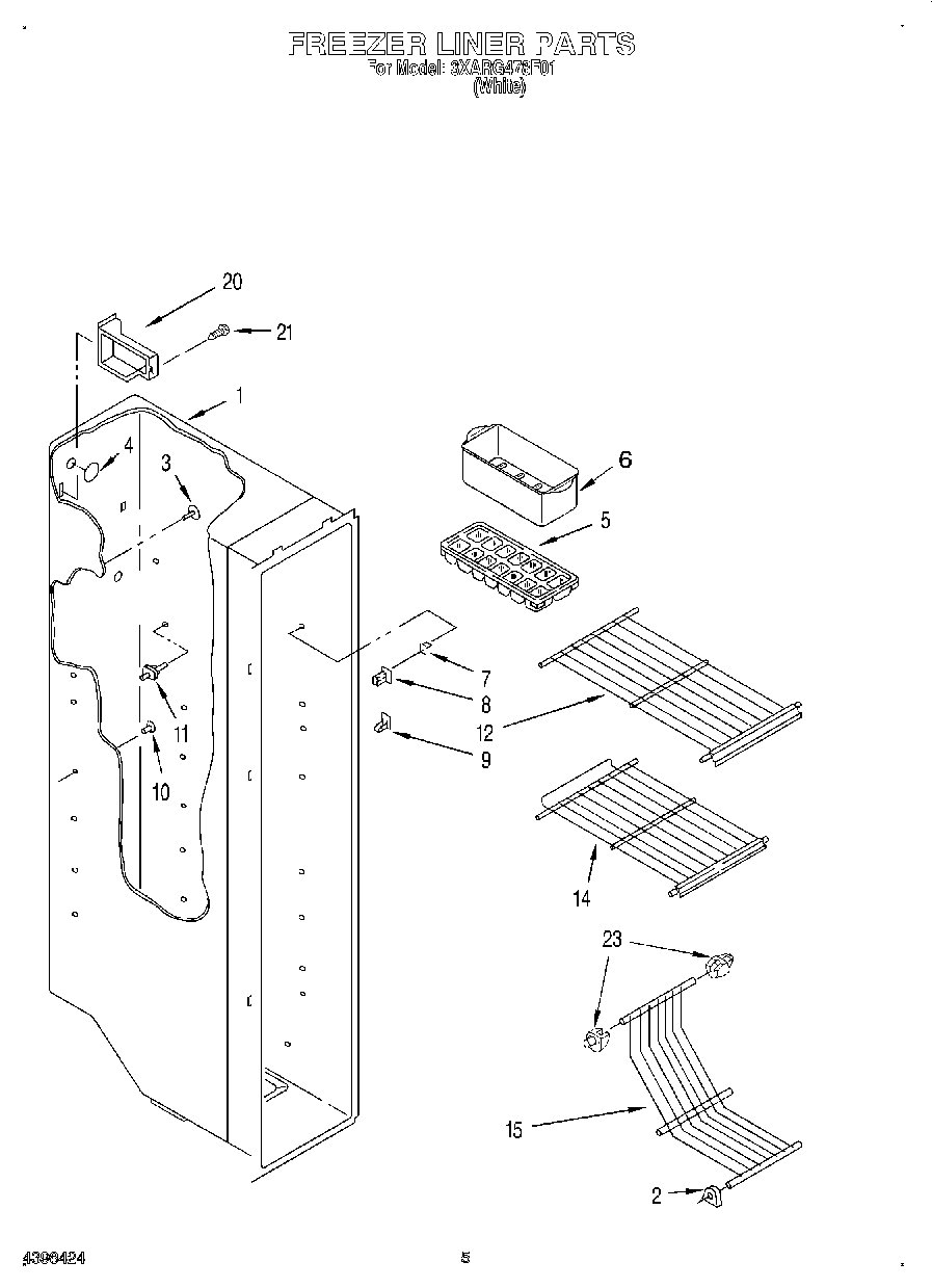
3XARG478F01 03 – FREEZER LINERadmin2025-04-26T12:27:49+00:003XARG478F01 03 – FREEZER LINER ProductsPositionProduct1Liner (Not A Serviceable Part)2Grommet, Trivet (4)3WP941839 Whirlpool Refrigerator Button Plug4Hole Seal5WP841180A Whirlpool Microwave Glass Turntable Tray6W10136387A Whirlpool Refrigerator Egg Container7Stud, Support8Stud, Front R.S.9Stud, Rear R.S.10Grommet114388538 Whirlpool Refrigerator Stud Shelf Kit (White)12Shelf14Shelf (1)14Shelf (2)15Trivet20Cover, Wiring21SCREW23819091 Whirlpool Refrigerator Shelf Stud