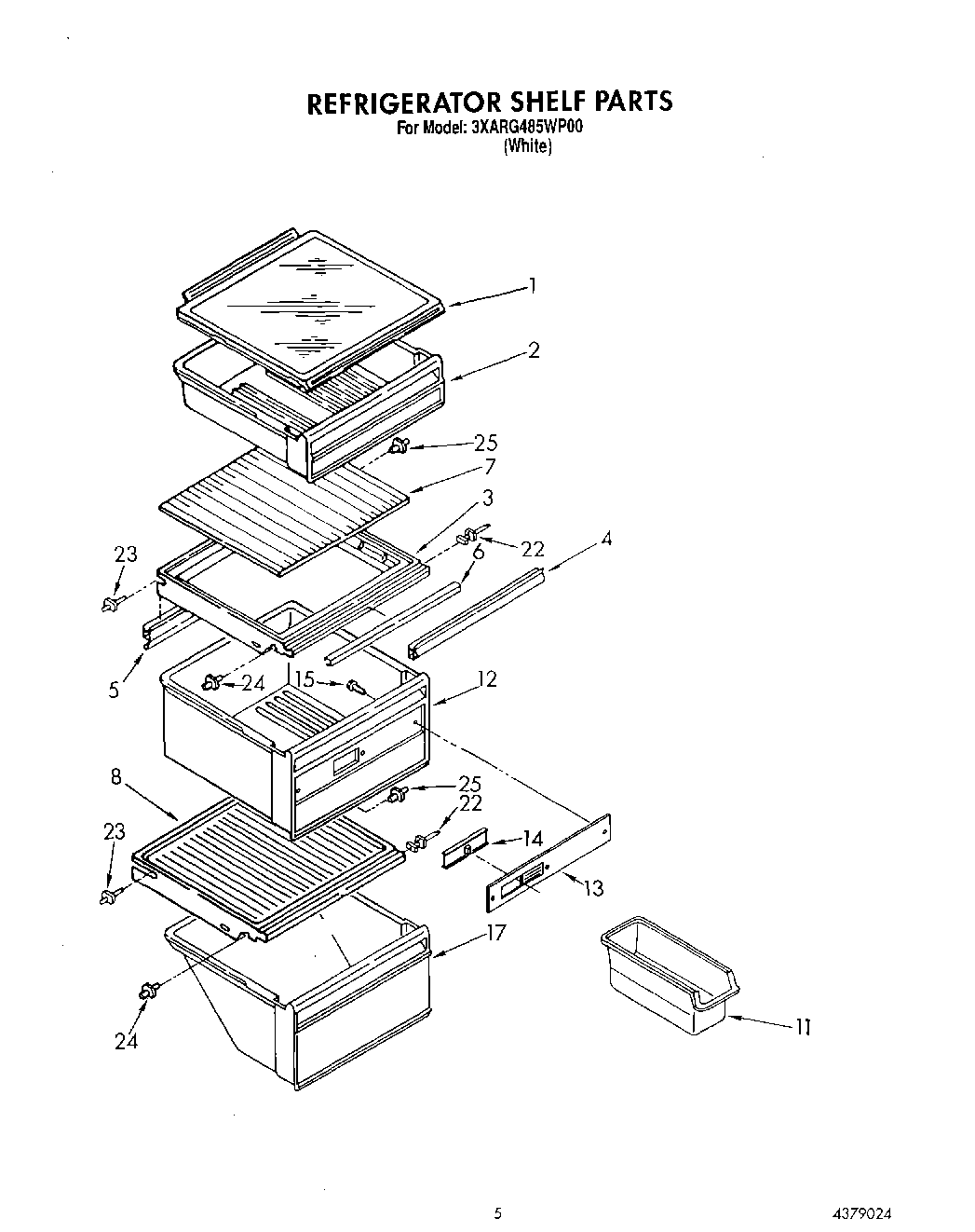
3XARG485WP00 03 – REFRIGERATOR SHELFadmin2025-04-26T12:28:24+00:003XARG485WP00 03 – REFRIGERATOR SHELF ProductsPositionProduct1Shelf Assembly, Glass Sliding (3)2Snack Bin3WP1126289 Whirlpool Refrigerator Cover4Gasket, Crisper (Front)5Gasket, Crisper (Rear)6Trim, Crisper Cover7Glass, Crisper Cover8WP2148298 Whirlpool Refrigerator Deli Drawer Cover Top Pan11WP982704 Whirlpool Refrigerator Container12Pan, Crisper13Front, Crisper Pan14Slide, Crisper15Screw (6)17Meat Pan23Stud (2)24WP2149540 Whirlpool Shelf Support254388538 Whirlpool Refrigerator Stud Shelf Kit (White)