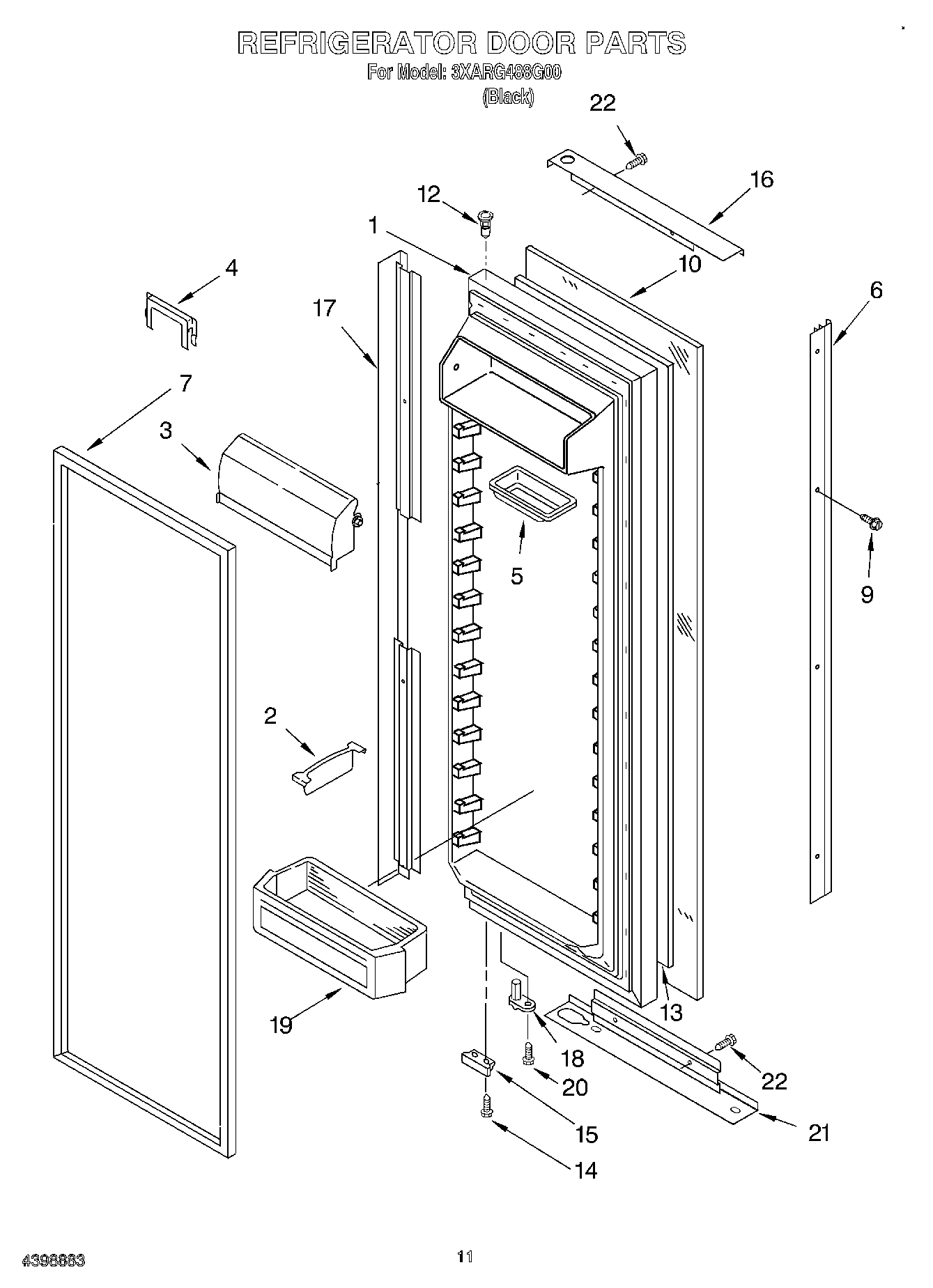
3XARG488G00 07 – REFRIGERATOR DOORadmin2025-04-26T12:26:47+00:003XARG488G00 07 – REFRIGERATOR DOOR ProductsPositionProduct1Refrigerator Door (Includes No.7)2Divider, Bin3WP2256101 Whirlpool Dairy Door4Retainer, Bottle5Butter Tray6Handle (Stainless)72159083 Whirlpool Gasket Door9Screw10Panel (Black)12WP2182181 Whirlpool Refrigerator Thimble13Filler, Panel14WP489483 Whirlpool Screw15Bracket, Door Stop (Chrome)16Trim, Door (Top) (Stainless)17Trim, Door (Hinge Side) (Stainless)18WP2182179 Whirlpool Cam Closer19WP2203872 Whirlpool Refrigerator Cantilever Bin20WP3400012 Whirlpool Refrigerator Screw21Trim, Door (Bottom) (Stainless)22WP3196557 Whirlpool Screw