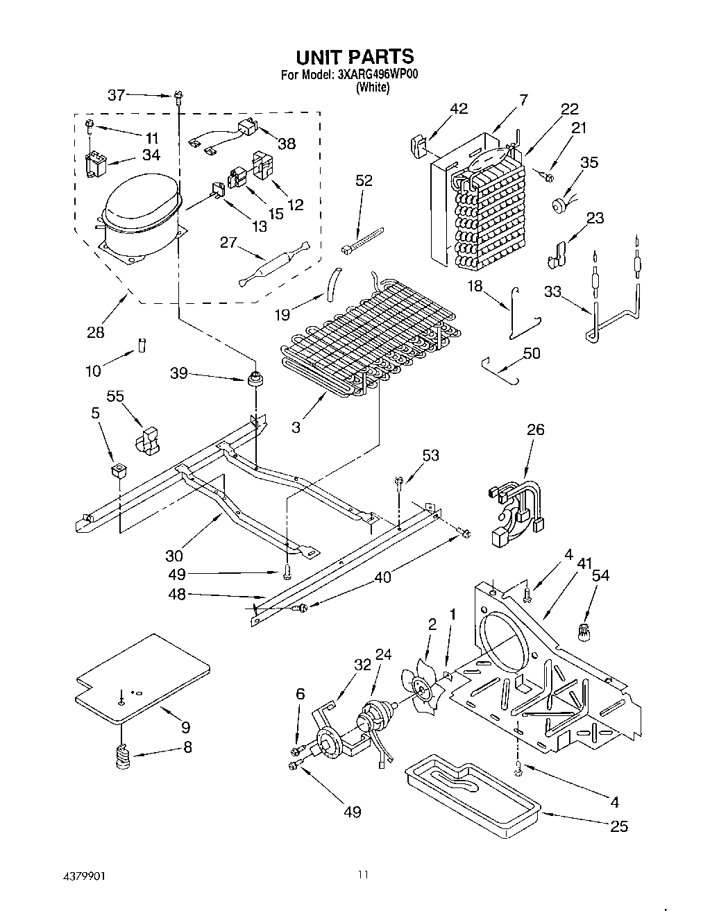
3XARG496WP00 07 – UNIT

3XARG496WP00 07 – UNIT