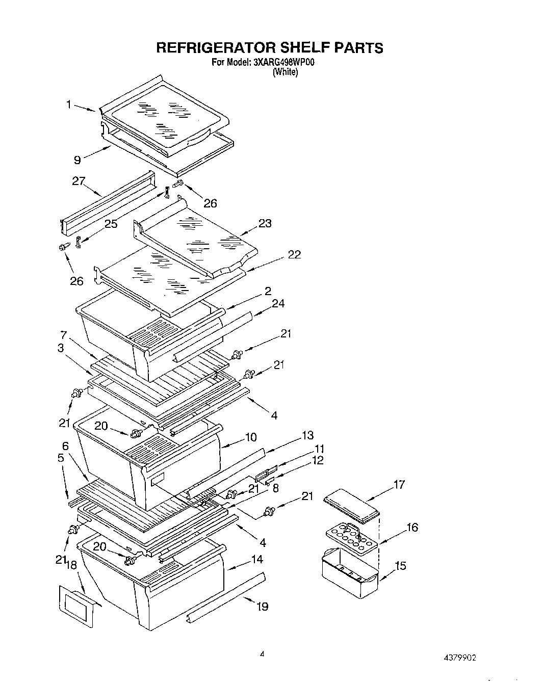
3XARG498WP00 03 – REFRIGERATOR SHELFadmin2025-04-26T12:25:15+00:003XARG498WP00 03 – REFRIGERATOR SHELF ProductsPositionProduct1WPW10141748 Whirlpool Refrigerator Glass Shelf2W11497323 Whirlpool Snack Pan4Gasket, Front5Gasket, Rear7W10864399 Whirlpool Glass Shelf8W10508993 Whirlpool Refrigerator Cover Pan9Frame, Shelf (2)10PAN-CRISPR11WP2179343 Whirlpool Refrigerator Control Body12WP2179342 Whirlpool Refrigerator Slide14WP2188664 Whirlpool Dishwasher Meat Crisper Pan15W10136387A Whirlpool Refrigerator Egg Container16WP2177817 Whirlpool Refrigerator Egg Container17Cover182179350 Whirlpool Refrigerator Deflector19WP2179234 Whirlpool Refrigerator Pan Trim204388539 Whirlpool Refrigerator Shelf Stud214388538 Whirlpool Refrigerator Stud Shelf Kit (White)22Shelf, Snack Bin23Shelf, Slide (Side To Side)24WP2179243 Whirlpool Refrigerator Pan Trim25Hook, Shelf26Screw27Track, Shelf