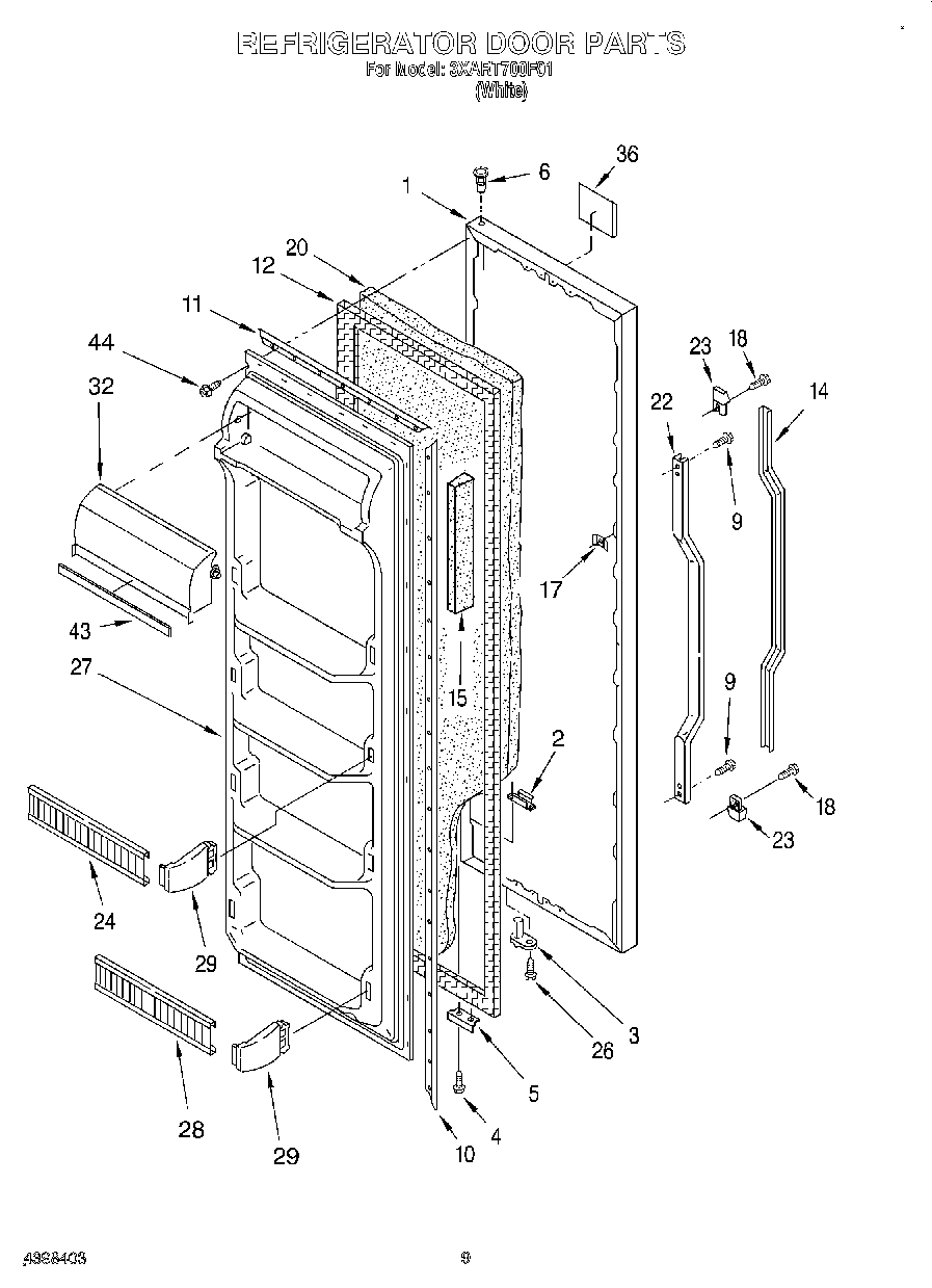
3XART700F01 06 – REFRIGERATOR DOORadmin2025-04-26T12:27:10+00:003XART700F01 06 – REFRIGERATOR DOOR ProductsPositionProduct1Refrigerator Door Panel2SCREW PLATE3WP2182179 Whirlpool Cam Closer4WP999367 Whirlpool Refrigerator Screw5Bracket, Door Stop (Chrome)6WP2182181 Whirlpool Refrigerator Thimble9WP489463 Whirlpool Refrigerator Screw10Retainer, Gasket11Gasket Retainer, Top & Bottom122188404A Whirlpool Refrigerator Door Gasket14Insert, Handle15Reinforcement, Shelf17Screw Anchor (2)18WP3400852 Whirlpool Refrigerator Screw20WPL 87602922Retainer, Insert23End Cap, Handle24WP2182189 Whirlpool Door Shelf Bar26WP3400012 Whirlpool Refrigerator Screw27Interior Door Panel (Also Order Item No.15)28WP2256010 Whirlpool Door Shelf Trim29WP2196189 Whirlpool Shelf Retainer Bar29WP2196190 Whirlpool Shelf Retainer Bar Support32Door, Compartment36Nameplate43Trim, Door Compartment44WP489069 Whirlpool Compactor Screw