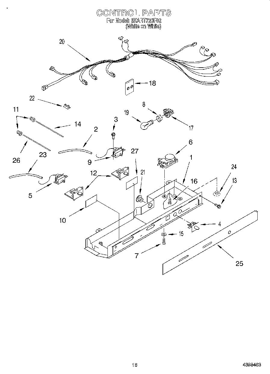
3XART720F02 09 – CONTROL