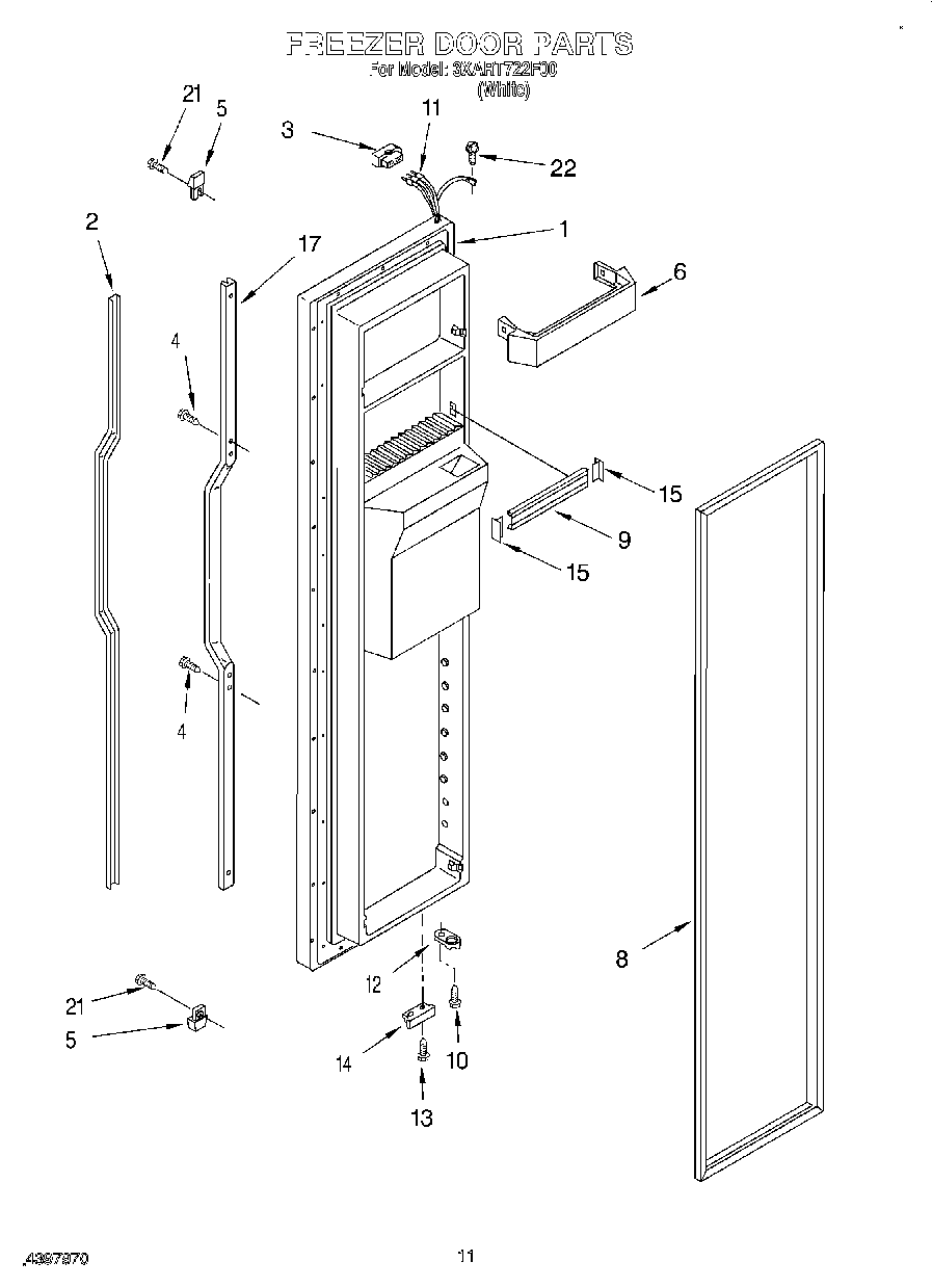
3XART722F00 08 – FREEZER DOORadmin2025-04-26T12:27:31+00:003XART722F00 08 – FREEZER DOOR ProductsPositionProduct1Freezer Door2Insert, Handle3WP2154473 Whirlpool Refrigerator Connector4WP489463 Whirlpool Refrigerator Screw5End Cap, Handle6WP2156021 Whirlpool Refrigerator Door Trim82159072 Whirlpool Refrigerator FIP Gasket9WPW10307490 Whirlpool Door Trim Assembly10WP3400012 Whirlpool Refrigerator Screw11Wire Harness124318165 Whirlpool Refrigerator Door Closure Cam Kit13WP489483 Whirlpool Screw14Bracket, Door Stop (Chrome)15WP2156006 Whirlpool Refrigerator Shelf Trim Endcap17Retainer, Insert21WP3400852 Whirlpool Refrigerator Screw22WP488234 Whirlpool Air Conditioner Screw