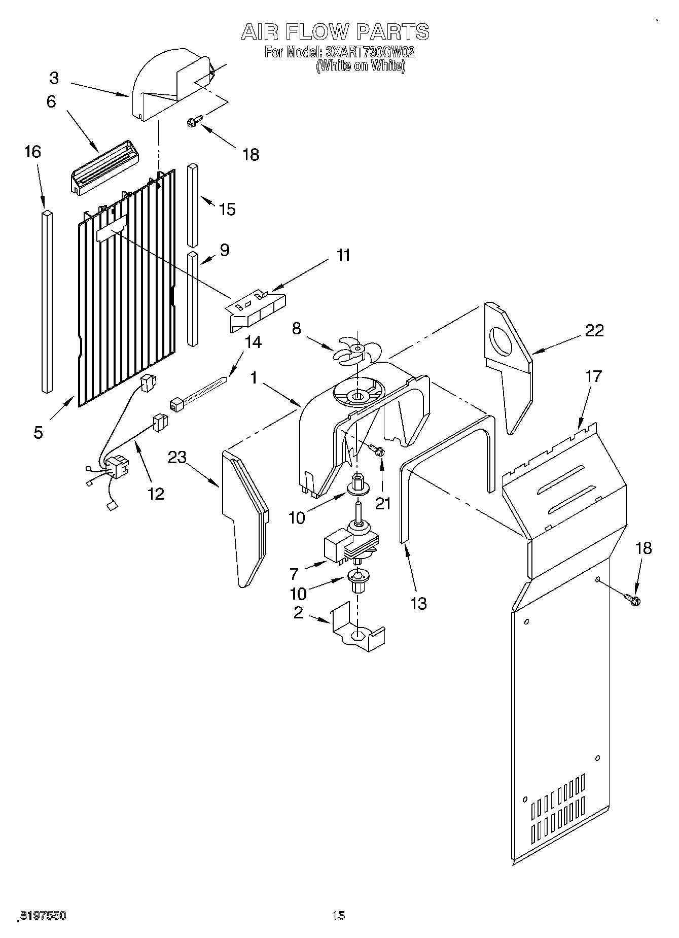
3XART730GW02 08 – AIR FLOW