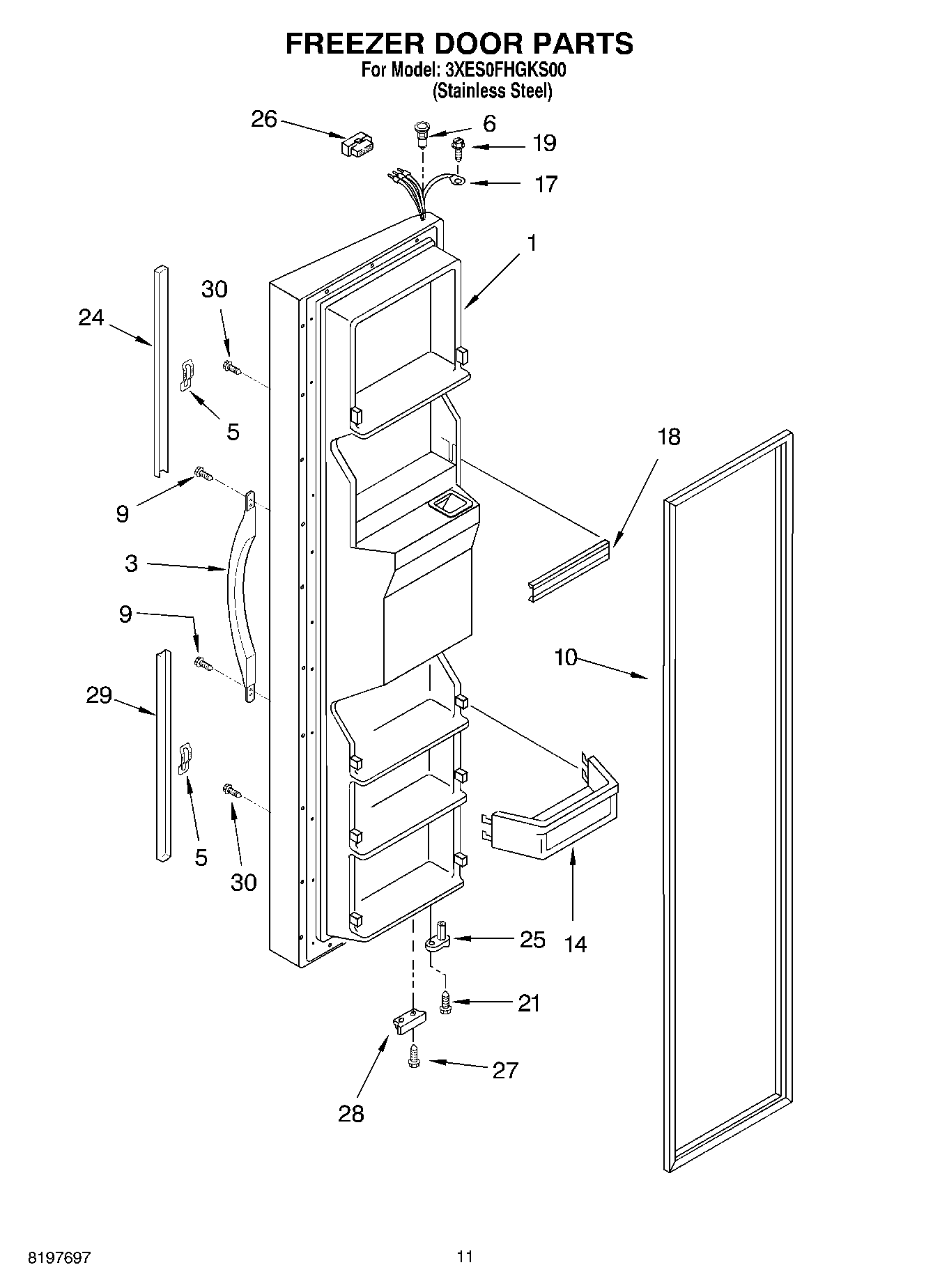
3XES0FHGKS00 06 – FREEZER DOOR