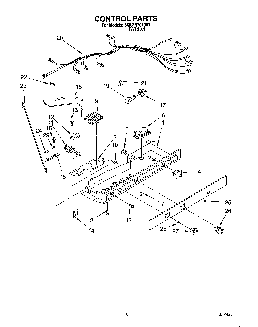
3XKGN701001 11 – CONTROL