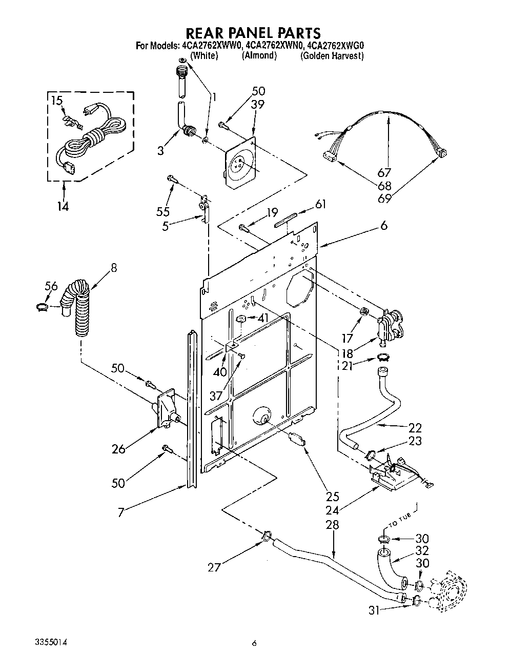
4CA2762XWN0 04 – REAR PANEL