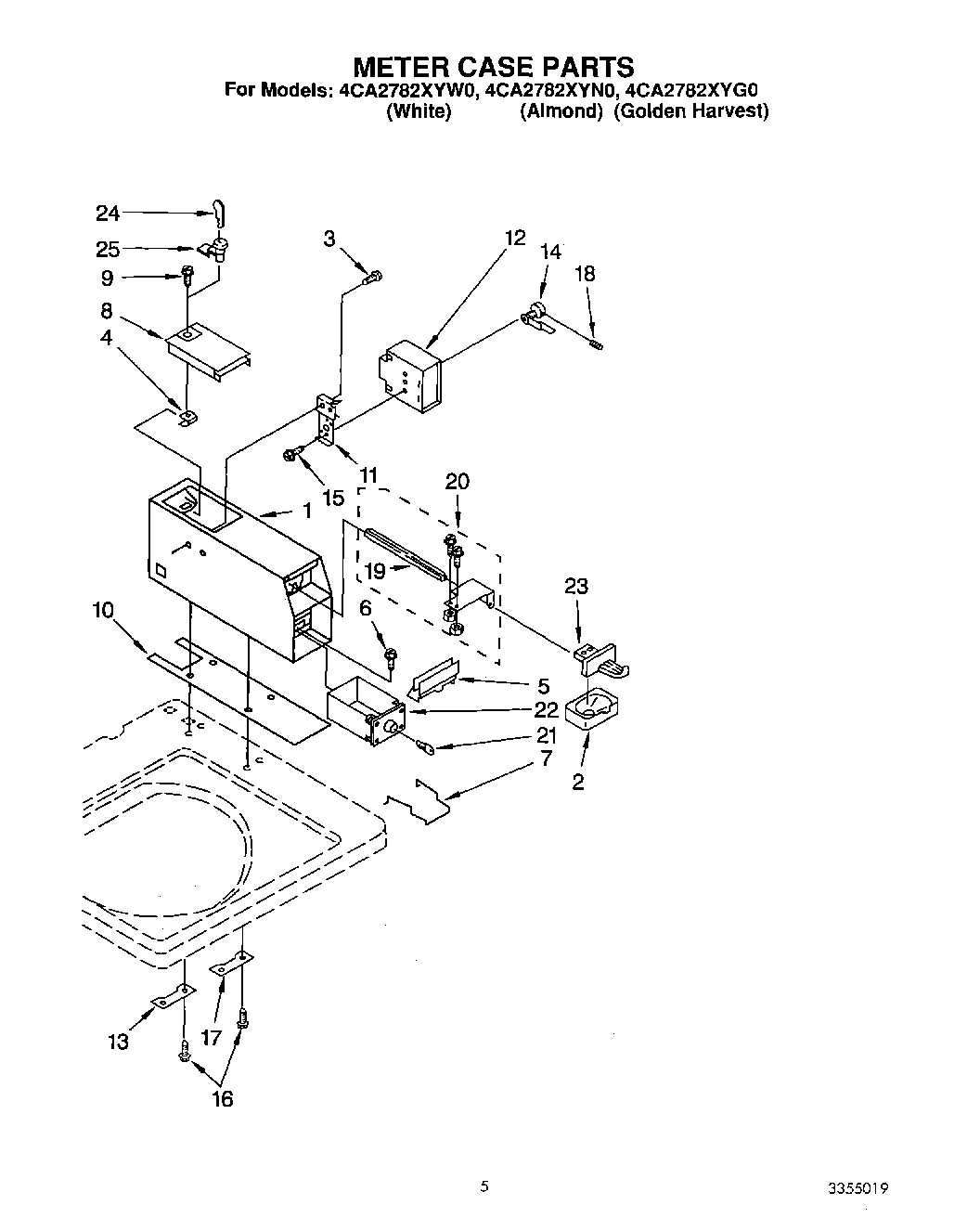
4CA2782XYW0 03 – METER CASE