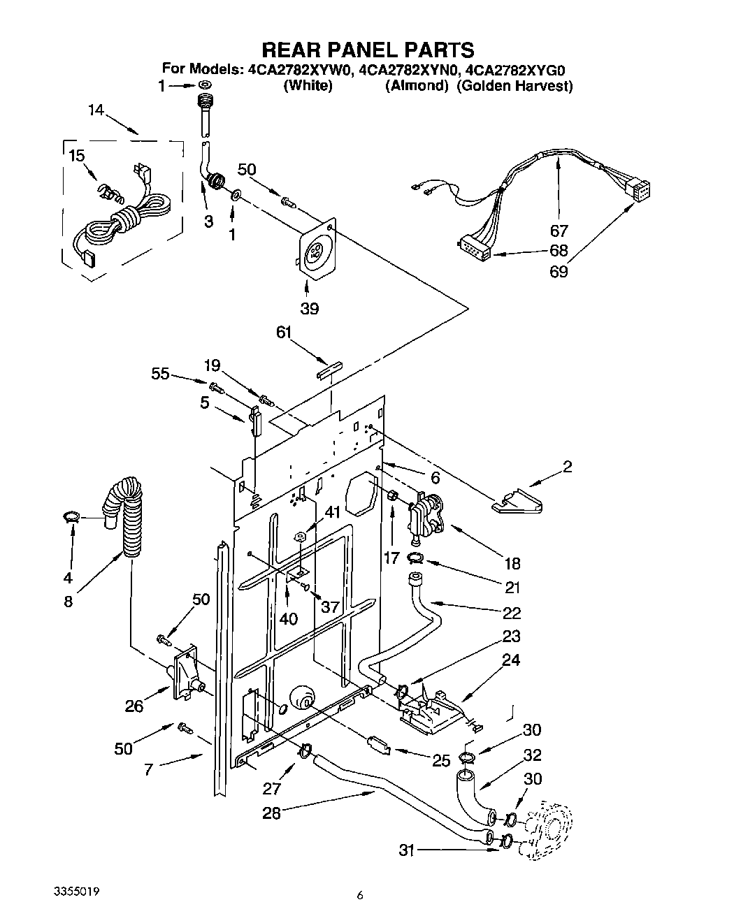
4CA2782XYW0 04 – REAR PANELadmin2025-04-26T13:05:34+00:004CA2782XYW0 04 – REAR PANEL ProductsPositionProduct1WP16123 Whirlpool Washer2WPL 33484243WP89503 Whirlpool Washer Fill Hose4WP3357331 Whirlpool Clamp5Hinge, Console (2)6285929 Whirlpool Rear Panel7WP62747 Whirlpool Pad8285664 Whirlpool Drain Hose8285666 Whirlpool Drain Hose 10'14Cord, Power15Strain Relief, Power Cord17WP96160 Whirlpool Washer Inlet Valve Screen18285874 Whirlpool Valve Assembly22HOSE23WP596669 Whirlpool Hose Clamp24WP3360977 Whirlpool Washer Tub Fill Nozzle25WP8519200 Whirlpool Support Assembly26WPW10358149 Whirlpool Hose27WP356138 Whirlpool Hose Clamp28WP3348552 Whirlpool Hose30WP371502 Whirlpool Clamp31WP285655 Whirlpool Hose Clamp32285871 Whirlpool Hose and Clamp37Rivet (2)39285930 Whirlpool Plate40Bracket, Top Lock41WP90406 Whirlpool Nut50WP3390631 Whirlpool Screw55WP308685 Whirlpool Microwave Screw61Edge Protector67Harness, Timer (Includes Illus. 68 & 69)68W10876590 Whirlpool Connector69Cap, Terminal (15 Way)