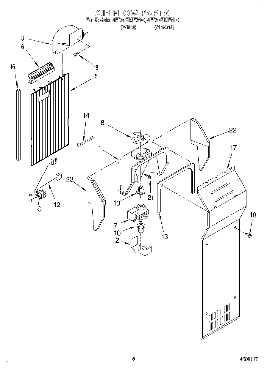
4ED20ZKIFW00 04 – AIR FLOWadmin2025-04-26T13:05:51+00:004ED20ZKIFW00 04 – AIR FLOW ProductsPositionProduct1W11254898 Whirlpool Refrigerator Scroll Fan2WP2155590 Whirlpool Refrigerator Retainer3Air Scoop54388357 Whirlpool Refrigerator Evaporator Cover6Diffuser, Air Duct7Fan Motor8WP2169142 Whirlpool Fan Blade10WP2176759 Whirlpool Refrigerator Grommet12Harness, Fan Evaporator, And Heater, Bi-Metal13WP2155789 Whirlpool Refrigerator Gasket14WPW10339879 Whirlpool Wire Tie16WP2304241 Whirlpool Refrigerator Gasket18SCREW21WP489478 Whirlpool Refrigerator Screw234388358 Whirlpool Refrigerator Support Bracket