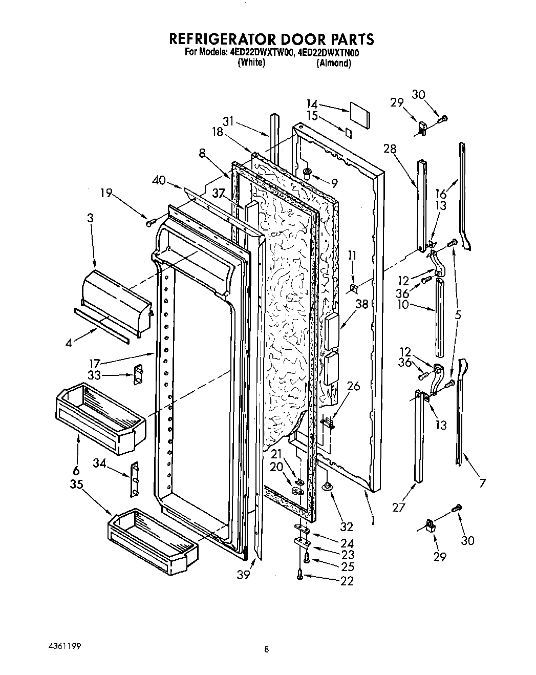
4ED22DWXTN00 07 – REFRIGERATOR DOOR