4ED22DWXTW00 08 – FREEZER DOORadmin2025-04-26T11:35:46+00:004ED22DWXTW00 08 – FREEZER DOOR
Products
| Position | Product |
|---|
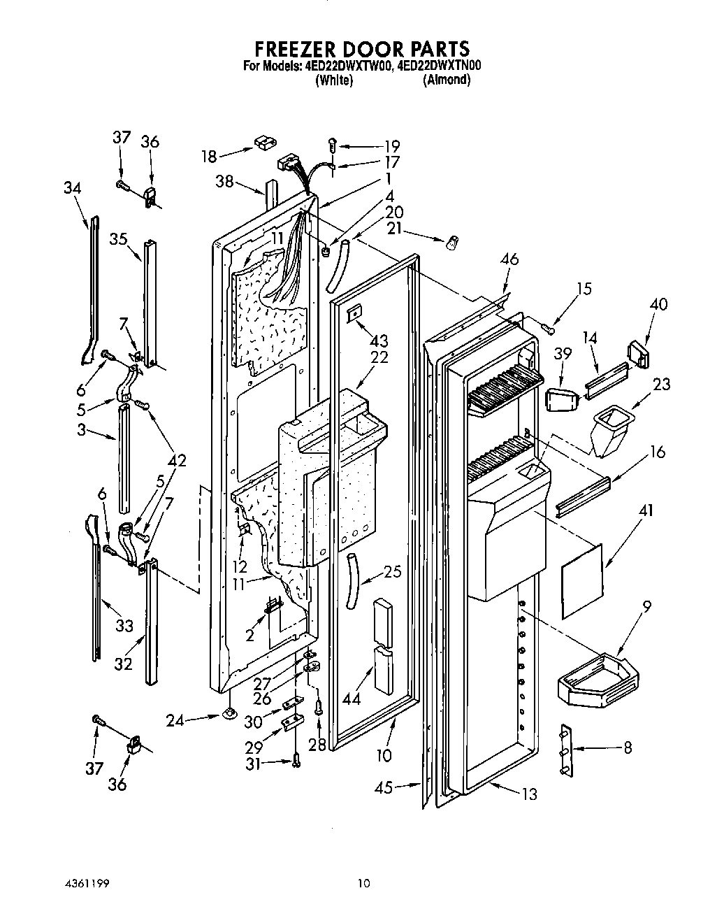
| 1 | freezer, door panel (almond (also order item 11)) |
| 1 | Freezer, Door Panel (Also Order Item 11) |
| 2 | Tap Plate |
| 3 | Handle, Center |
| 4 | Seal, Hinge Pin |
| 5 | End Cap, Center Handle |
| 6 | WP488729 Whirlpool Refrigerator Door Screw |
| 7 | Shim |
| 8 | Pin Plate (8) |
| 9 | Shelf Bin (3) |
| 10 | 2188405A Whirlpool Refrigerator Door Gasket |
| 11 | WPL 876029 |
| 12 | Screw Anchor (2) |
| 13 | Panel, Interior Door |
| 14 | Trim, Door Shelf |
| 16 | Trim, Door Shelf |
| 17 | Harness, Door (Includes Item 18) |
| 18 | Connector, Plug |
| 19 | WP488234 Whirlpool Air Conditioner Screw |
| 20 | Tube, Door Wiring |
| 21 | Wire Connector |
| 22 | Insulation, Dispenser |
| 23 | Chute, Ice |
| 24 | Hole Plug (2) |
| 25 | Tube, Door Wiring |
| 26 | 4318165 Whirlpool Refrigerator Door Closure Cam Kit |
| 27 | WP1104787 Whirlpool Refrigerator Shim |
| 28 | WP489069 Whirlpool Compactor Screw |
| 29 | Bracket, Door Stop |
| 30 | Shim |
| 31 | Screw, 89 x 5/8 |
| 32 | Retainer, Insert (Bottom) |
| 33 | Insert, Handle (Almond) |
| 33 | Insert, Handle (White) |
| 34 | Insert, Handle (Almond) |
| 34 | Insert, Handle |
| 35 | Retainer, Insert |
| 36 | End Cap (2) |
| 37 | Screw |
| 38 | Trim, Door |
| 39 | End Cap, Trim (4) |
| 40 | End Cap, Trim (4) |
| 41 | Overlay |
| 42 | Screw |
| 43 | WP939101 Whirlpool Refrigerator Plate |
| 44 | Door Dike (2) |
| 45 | Retainer, Gasket |
| 46 | Retainer, Gasket |