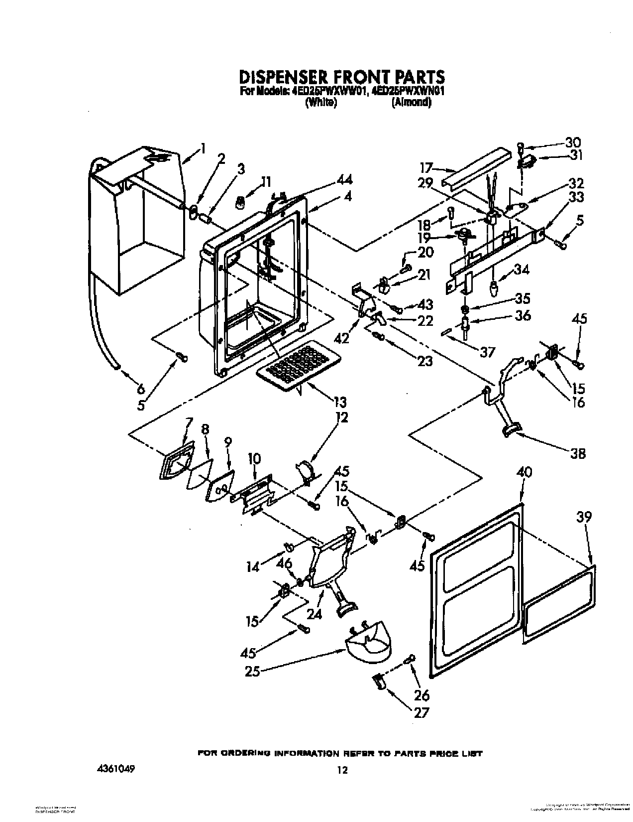
4ED25PWXWW01 09 – DISPENSER FRONT