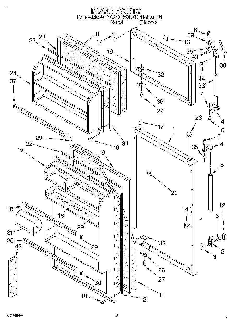
4ET14GKXFN01 02 – DOOR