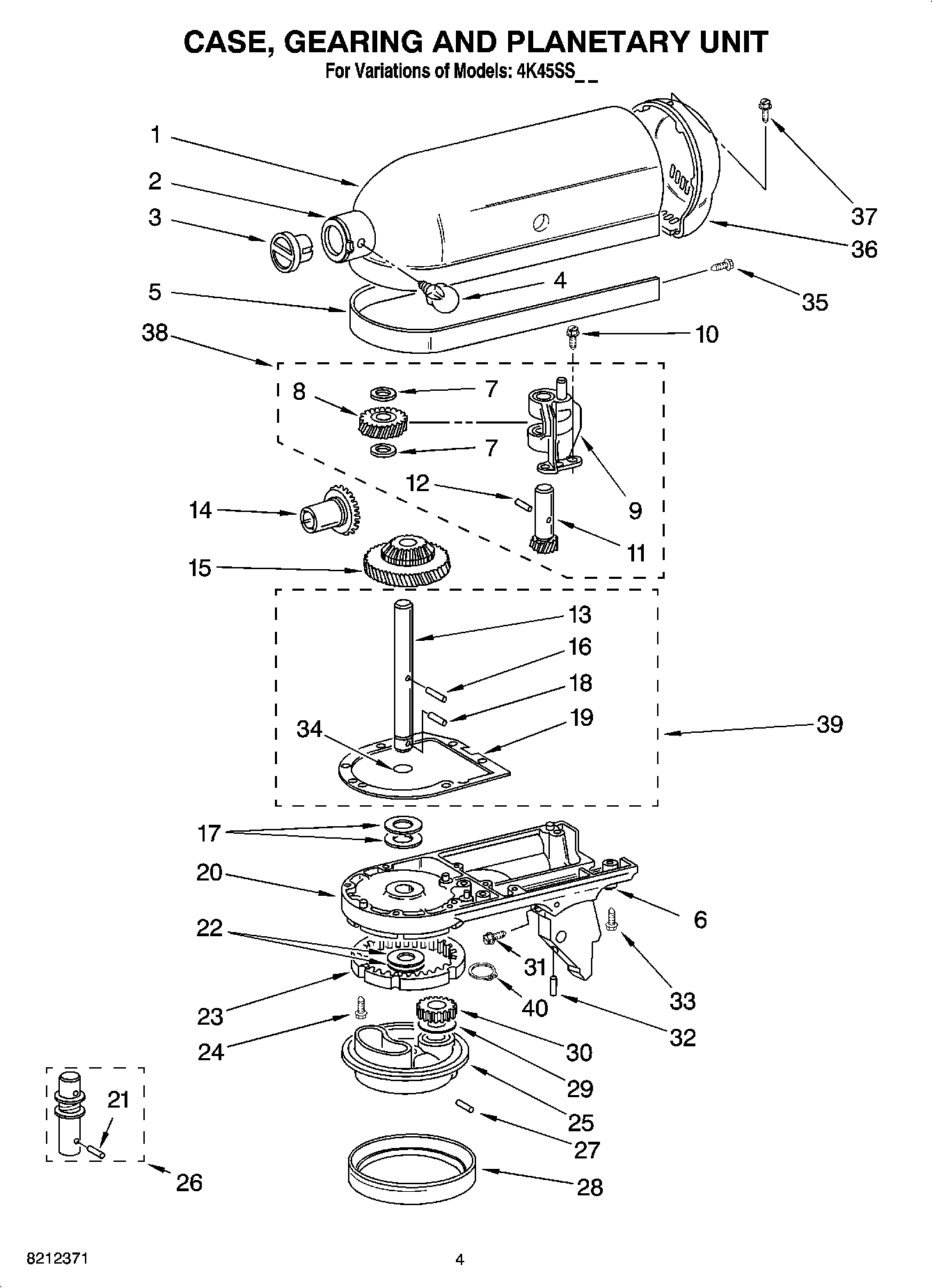
4K45SS7OB0 03 – CASE, GEARING AND PLANETARY UNITadmin2025-04-26T13:05:10+00:004K45SS7OB0 03 – CASE, GEARING AND PLANETARY UNIT ProductsPositionProduct1Gearcase Motor Housing2WP16897 Whirlpool Bearing3Cap, Attachment Hub4WP9709194 Whirlpool Black Thumb Screw5Band, Trim6WP8533914 Whirlpool Lock7WPW10323373 Whirlpool Washer8WPW10112253 Whirlpool Gear Assembly9W11082541 Whirlpool Bearing10W11097298 Whirlpool Dishwasher Screw11Shaft & Pinion12WP9705444 Whirlpool Pin Groove13WP240026 Whirlpool Control Shaft14W11192794 Whirlpool HUB Gear18WP9705443 Whirlpool Pin Groove19WP4162324 Whirlpool Case Gasket20Lower Gear Case21W11664709 Whirlpool Groove Pin22WPW10323378 Whirlpool Washer23W11340106 Whirlpool Gear Assembly24Screw, Special (5)25Planetary26WP243368 Whirlpool Agitator Shaft27Pin (Vertical Center Shaft)28WP240285 Whirlpool Drip Ring29WP9706090 Whirlpool Washer30W11133645 Whirlpool Pinion Gear31W11028216 Whirlpool Screw32WP3400203 Whirlpool Screw33WP3400025 Whirlpool Screw34O RING35WP313808 Whirlpool Screw36Cover, End37WP241877 Whirlpool Screw38GEAR, WORM AND BRACKET394160474 Whirlpool Control Shaft40WP9703438 Whirlpool Snap Retaining Ring