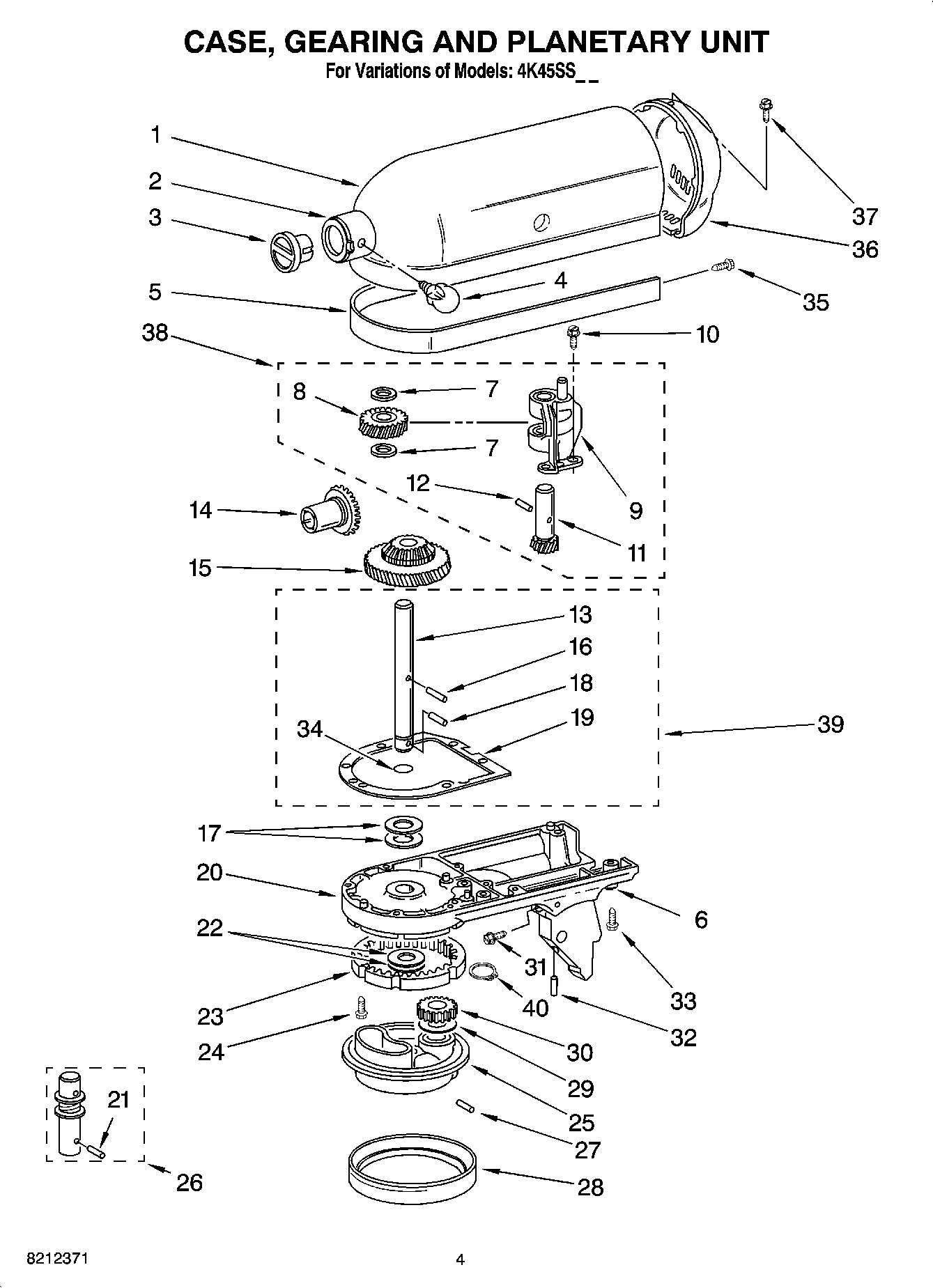
4K45SS7WH0 03 – CASE, GEARING AND PLANETARY UNIT