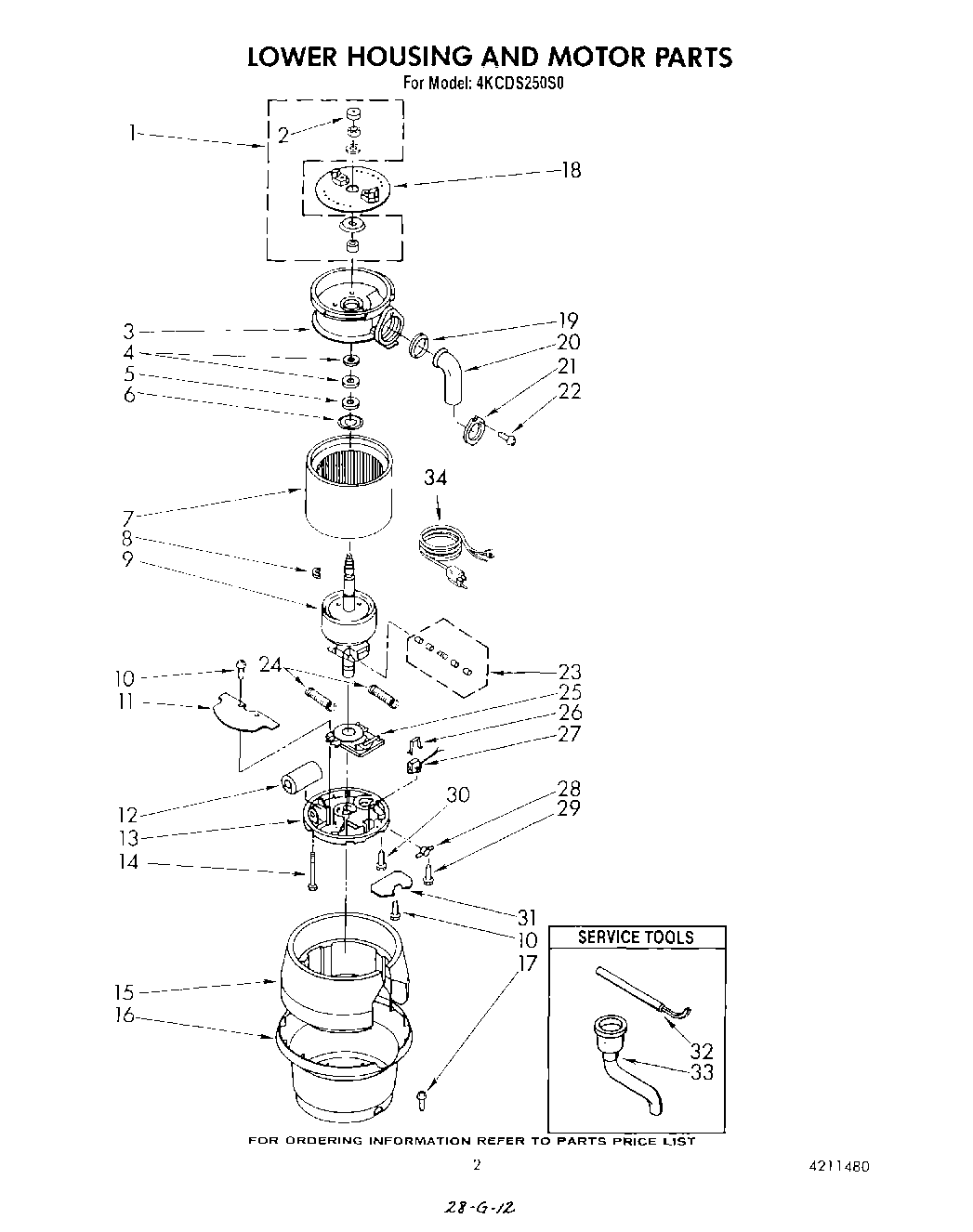
| 1 | 4211578 Whirlpool Disposer Sleeve |
| 3 | End Bell Assembly (Upper) |
| 4 | Washer, Phenolic (2) |
| 5 | Washer, Rubber |
| 6 | Washer, Thrust |
| 7 | Stator Assembly |
| 8 | Ring, C |
| 9 | Rotor And Shaft Assembly |
| 10 | Screw |
| 11 | Shield, Insulation |
| 12 | Capacitor |
| 13 | End Frame Assembly (Lower) |
| 14 | Bolt, Thru (4) |
| 15 | Insulation, Bottom |
| 16 | Trim, Shell Assembly |
| 17 | Screw, Tapping |
| 18 | Shredder Assembly, Rotating |
| 19 | Gasket, Tailpipe |
| 20 | 4211317 Whirlpool Disposer Tail Pipe |
| 21 | Flange, Tailpipe |
| 22 | WP8204624 Whirlpool Bolt |
| 23 | Transfer Assembly |
| 24 | Spring (2) (Centrifugal Actuator) |
| 25 | Switch Assembly, Start |
| 26 | Clip, Overload |
| 27 | Protector, Overload |
| 28 | Clamp, BX |
| 29 | Screw, Clamp (2) |
| 30 | Screw, Ground |
| 31 | Cover, Terminal |
| 32 | WP8174310 Whirlpool Disposer Wrench |
| 33 | 4211396 Whirlpool Disposer Adapter |
| 34 | PLUG & CORD (GC1000PE4 ONLY) |