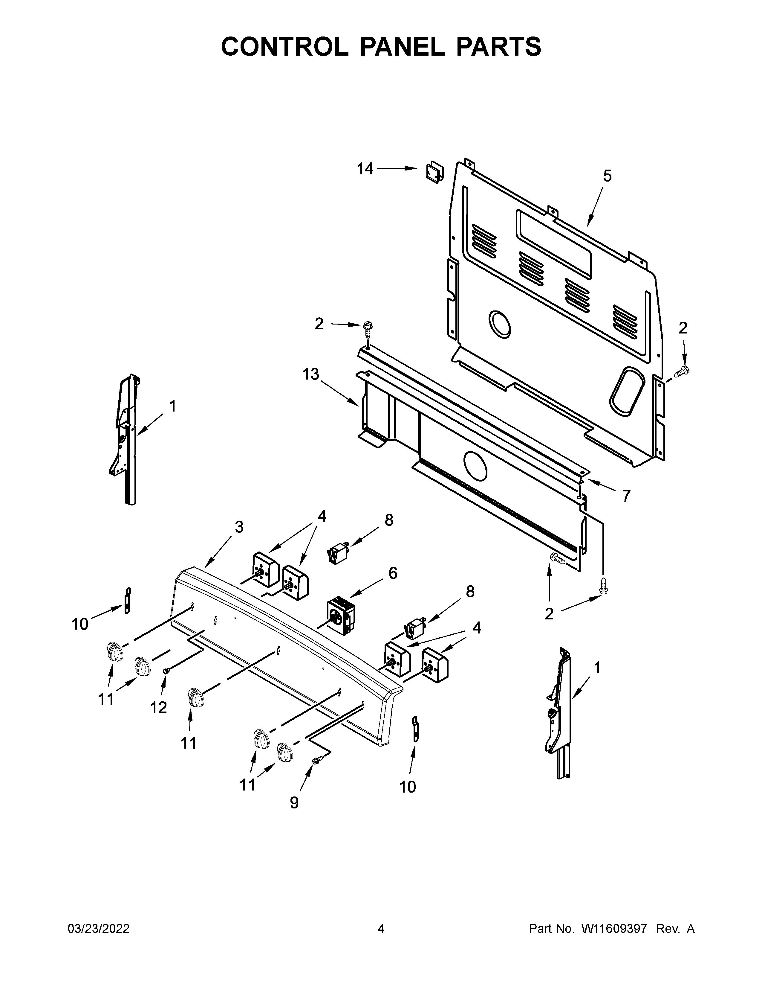
4KMER7600AW3 03 – CONTROL PANEL PARTSadmin2025-04-26T13:06:56+00:004KMER7600AW3 03 – CONTROL PANEL PARTS ProductsPositionProduct1AW11219370 Whirlpool Endcap Panel1W11219365 Whirlpool Panel Endcap2SCREW3PANEL, BACKGUARD (WHITE)4ASWITCH-INF4WP3149404 Whirlpool Oven Surface Element Switch5WP8272473 Whirlpool Rear Cover6WPW10466758 Whirlpool Oven Switch7W10525121 Whirlpool Control Bracket8WP8523266 Whirlpool Indicator Light9WP3400882 Whirlpool Screw103196200 Whirlpool Clip11WPW10211371 Whirlpool Knob Assembly12WP3196068 Whirlpool Light Lens13W10134247 Whirlpool Heat Shield14WP8273564 Whirlpool Clip