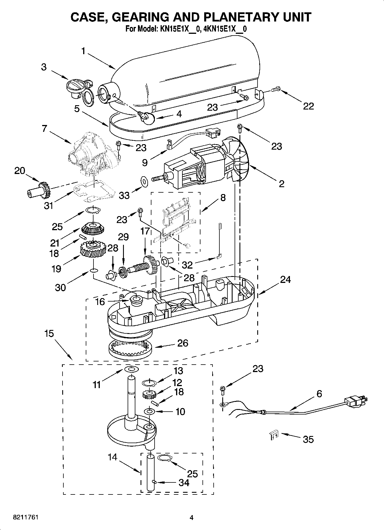
4KN15E1XCM0 02 – CASE, GEARING AND PLANETARY UNIT