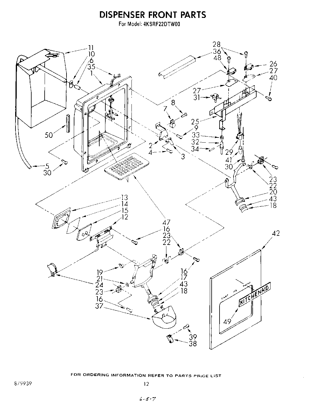
4KSRF22DTA00 07 – DISPENSER FRONT