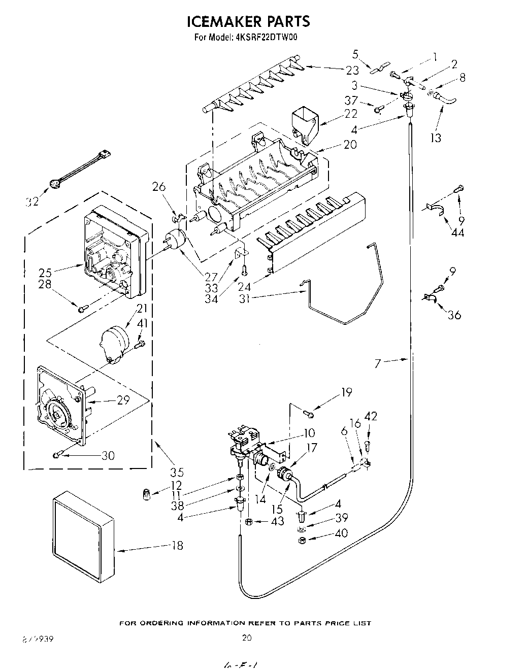
4KSRF22DTP00 11 – ICE MAKERadmin2025-04-26T13:02:10+00:004KSRF22DTP00 11 – ICE MAKER ProductsPositionProduct1WP98165 Whirlpool Screw2WP2196157 Whirlpool Fill Tube3WP488878 Whirlpool Refrigerator Tube Clamp44387491 Whirlpool Refrigerator Insert5Clip6WP2158826 Whirlpool Refrigerator Dampener7W10823511 Whirlpool Refrigerator Water Tube8WP1106508 Whirlpool Refrigerator Gasket9WP489069 Whirlpool Compactor Screw104318046 Whirlpool Dual Water Inlet Valve11WP627018 Whirlpool Refrigerator Nut12Wire Connector13Tube, Water Inlet14WP16123 Whirlpool Washer15Tube, Inlet Valve16Clamp Tube17Nut, Valve18Cover19WPW10141625 Whirlpool Refrigerator Screw Assembly20WPW10190929 Whirlpool Refrigerator Ice Maker Mold22WP628356 Whirlpool Refrigerator Fill Cup23WP627843 Whirlpool Refrigerator Ejector Arm24WP2182124 Whirlpool Refrigerator Stripper Arm25WP2195914 Whirlpool Refrigerator Ice Maker Housing26WP2315522 Whirlpool Refrigerator Clip27WP627985 Whirlpool Icemaker Cycling Thermostat28Screw, 10-32 x 49/6430WP681249 Whirlpool Screw Assembly31W11342242 Whirlpool Refrigerator Ice Level Arm32WP628172 Whirlpool Refrigerator Wire Harness33WP2256087 Whirlpool Refrigerator Bracket34WP489128 Whirlpool Refrigerator Screw35W10190935 Whirlpool Refrigerator Icemaker Motor Module Assembly36Clamp, Water Line (2)37WP965173 Whirlpool Dishwasher Screw38``O`` Ring Seal (4)39``O`` Ring Seal40Nut, Compression41489136 Whirlpool Refrigerator Screw42W11624204 Whirlpool Screw43Nut, Compression44WP488366 Whirlpool Refrigerator Clamp