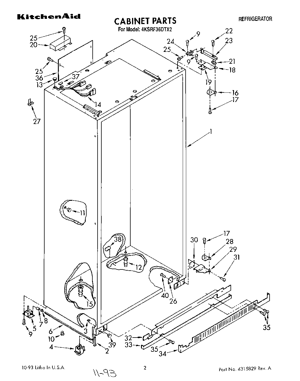
| 1 | Cabinet (Not A Serviceable Part) |
| 2 | Leveler, Front (2) |
| 3 | Retainer (2) |
| 4 | WPW10138054 Whirlpool Refrigerator Cabinet Roller |
| 5 | 2005032 Whirlpool Refrigerator Leveler |
| 6 | Adjusting Rod (2) |
| 7 | Sleeve, Retainer (2) |
| 8 | Bushing, Rod (2) |
| 9 | Screw (Repair) |
| 9 | Screw, 10-32 x 5/8 |
| 10 | Hole Plug, Leveler |
| 11 | Cap, Grommet |
| 12 | Grommet, Water Tube |
| 13 | Grommet, Wiring |
| 14 | Wiring Harness, Cabinet |
| 15 | Drain Fitting |
| 16 | Gap, Cover Assembly (Top) (Right Side) |
| 16 | Gap, Cover Assembly (Top) (Left Side) |
| 17 | Shoulder, Screw |
| 18 | Hinge (Top) (Right Side) |
| 18 | Hinge (Top) (Left Side) |
| 19 | Shim, Hinge Top (4) |
| 20 | Guard, Wiring |
| 21 | Door Closer, Fixed Cam |
| 22 | WP486579 Whirlpool Air Conditioner Screw |
| 23 | Door Closer Assembly (2) |
| 24 | Bracket, Door Closer (Left Side) |
| 24 | Bracket, Door Closer (Right Side) |
| 25 | SCREW |
| 25 | W11624204 Whirlpool Screw |
| 26 | Tap Plate, Hinge Butt (2) |
| 27 | Fastener (3) |
| 28 | Gap, Cover Assembly (Bottom) (Right Side) |
| 28 | Gap, Cover Assembly (Bottom) (Left Side) |
| 29 | Hinge (Bottom) (Left Side) |
| 29 | Hinge (Bottom) (Right Side) |
| 30 | Shim, Hinge Bottom (1 Each) |
| 31 | Screw, 1/4-28 x 3/4 |
| 32 | Grille Base, Top |
| 33 | Grille Base, Bottom |
| 34 | Grille Base, Front |
| 35 | Screw |
| 36 | Cover, Rear |
| 37 | Grommet, Wiring |
| 38 | Grommet, Flexible |
| 39 | Grommet, Tube |
| 40 | WP488163 Whirlpool Refrigerator Screw |