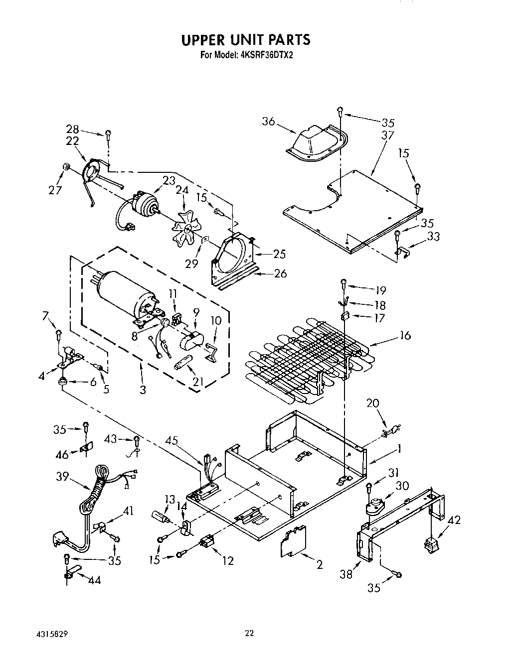
4KSRF36DTX2 13 – UPPER UNIT