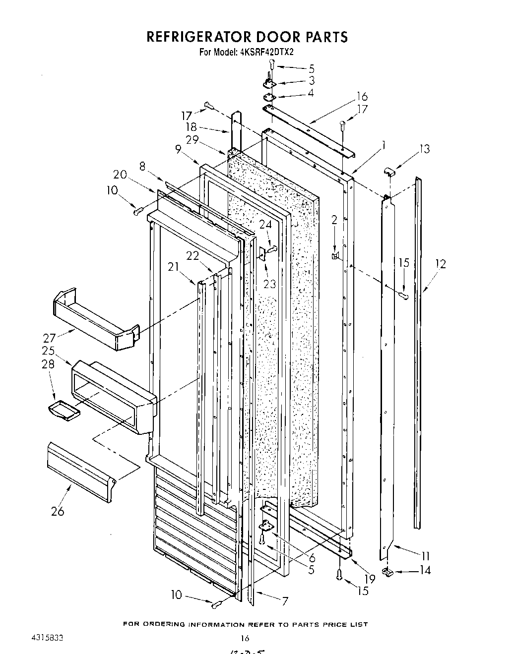
4KSRF42DTX2 11 – REFRIGERATOR DOOR , LIT/OPTIONAL