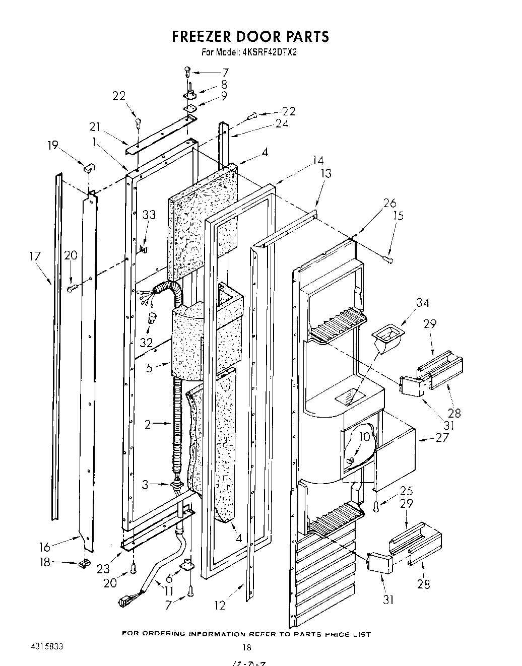
4KSRF42DTX2 12 – FREEZER DOOR