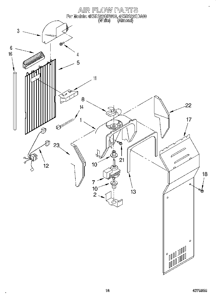
4KSRS22QDA00 11 – AIR FLOW