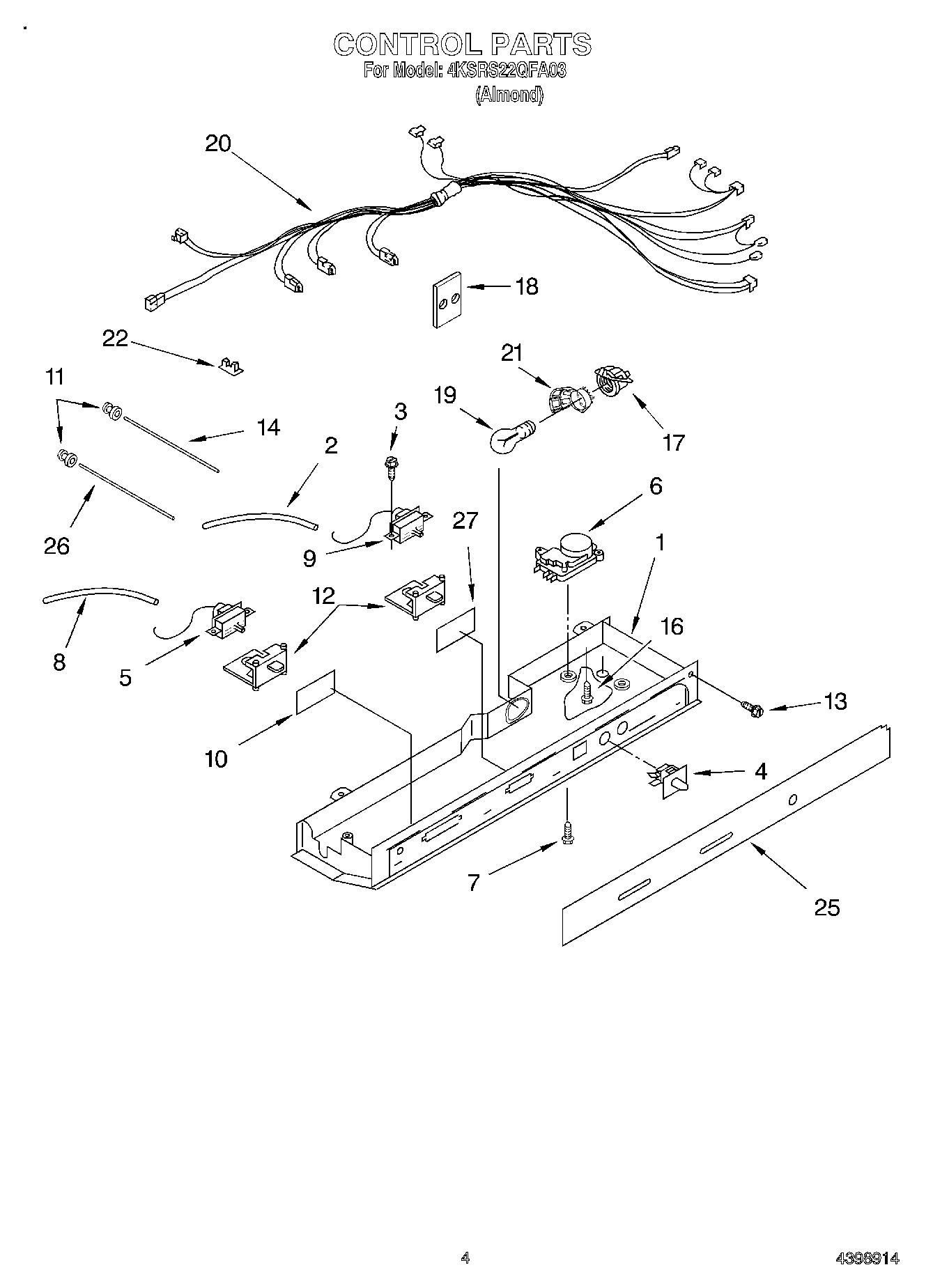
4KSRS22QFA03 03 – CONTROL