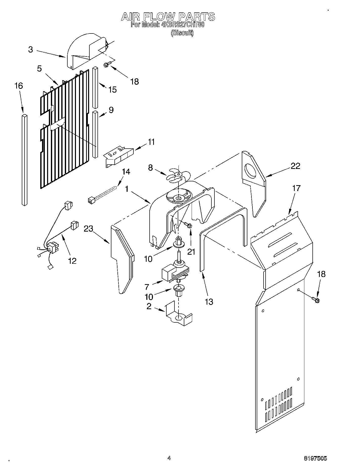
4KSRS27CHT00 03 – AIR FLOW