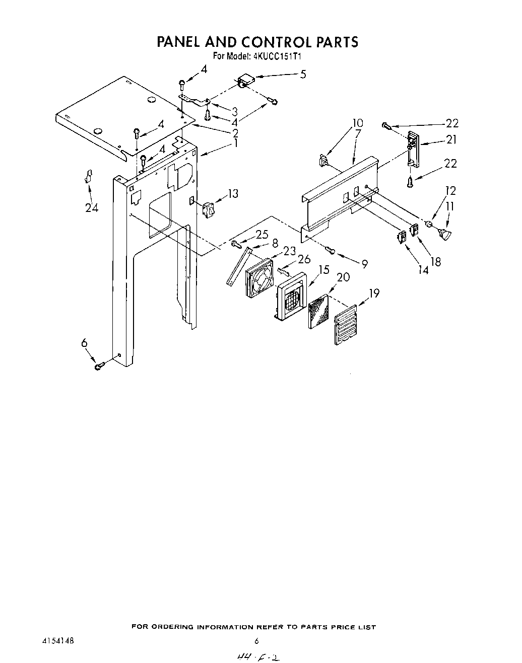
4KUCC151T1 06 – PANEL AND CONTROL