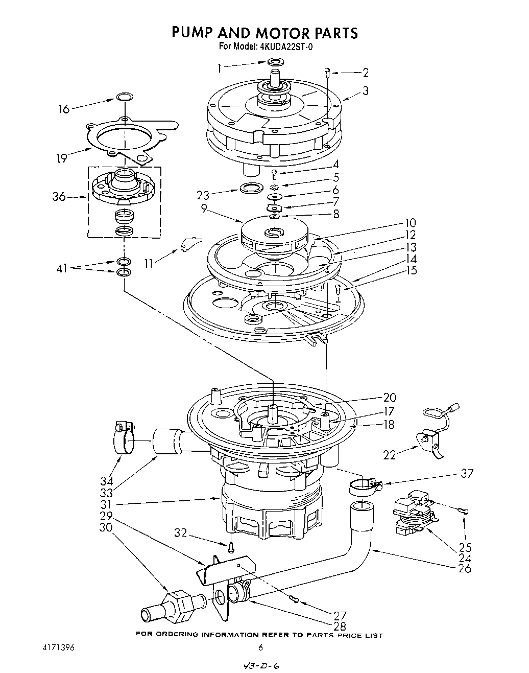
4KUDA22ST0 05 – PUMP AND MOTOR