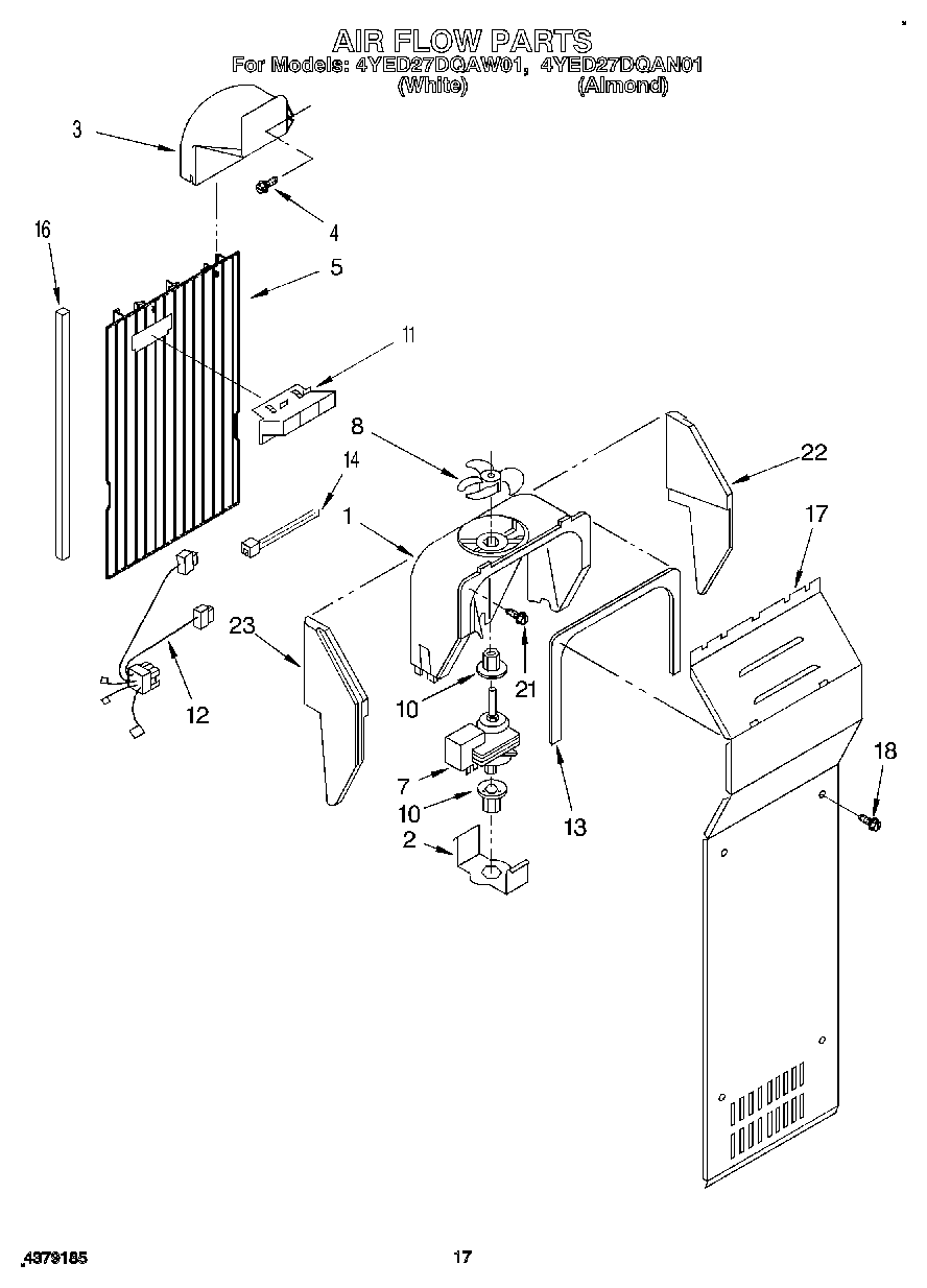
4YED27DQAN01 10 – AIR FLOW