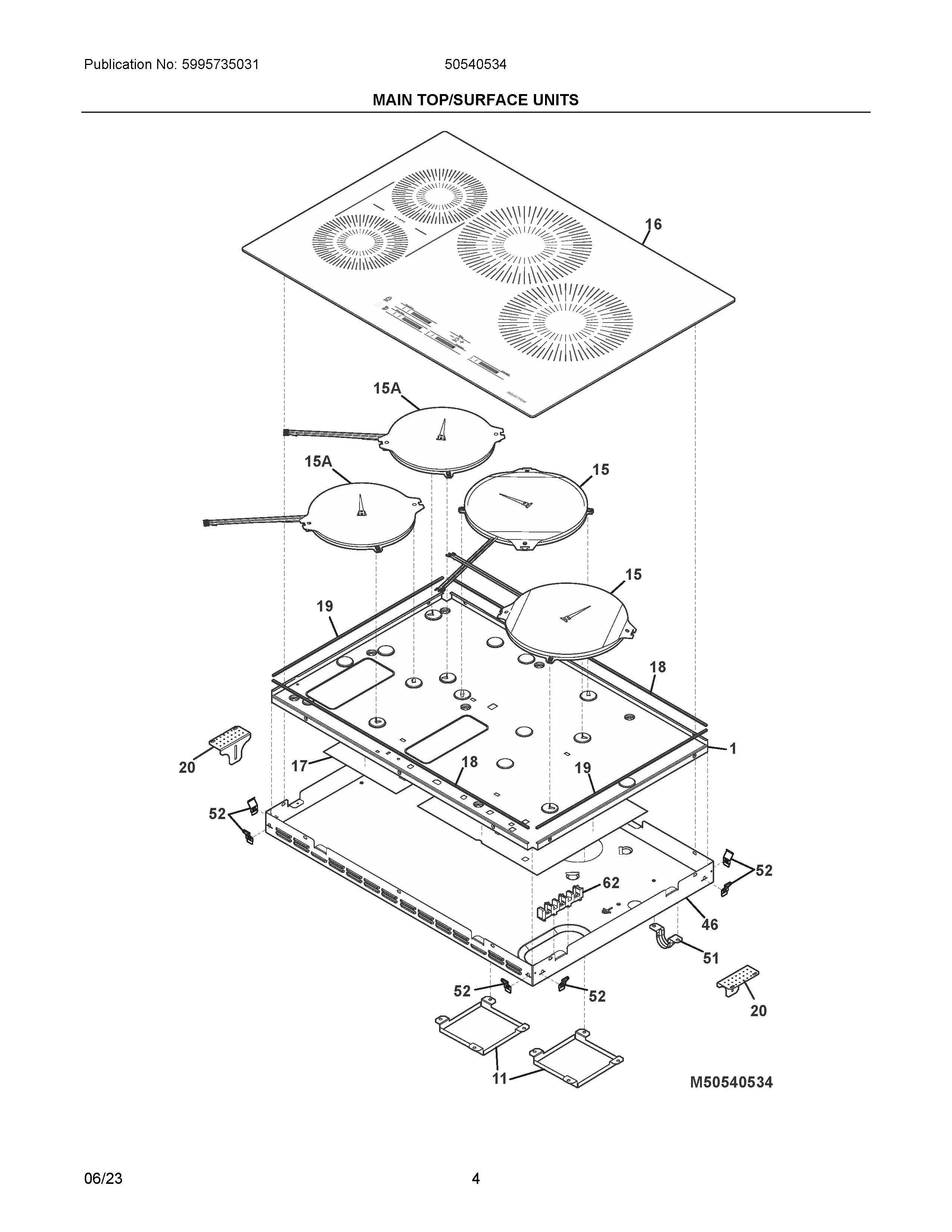
50540534 03 – MAIN TOP/SURFACE UNITS