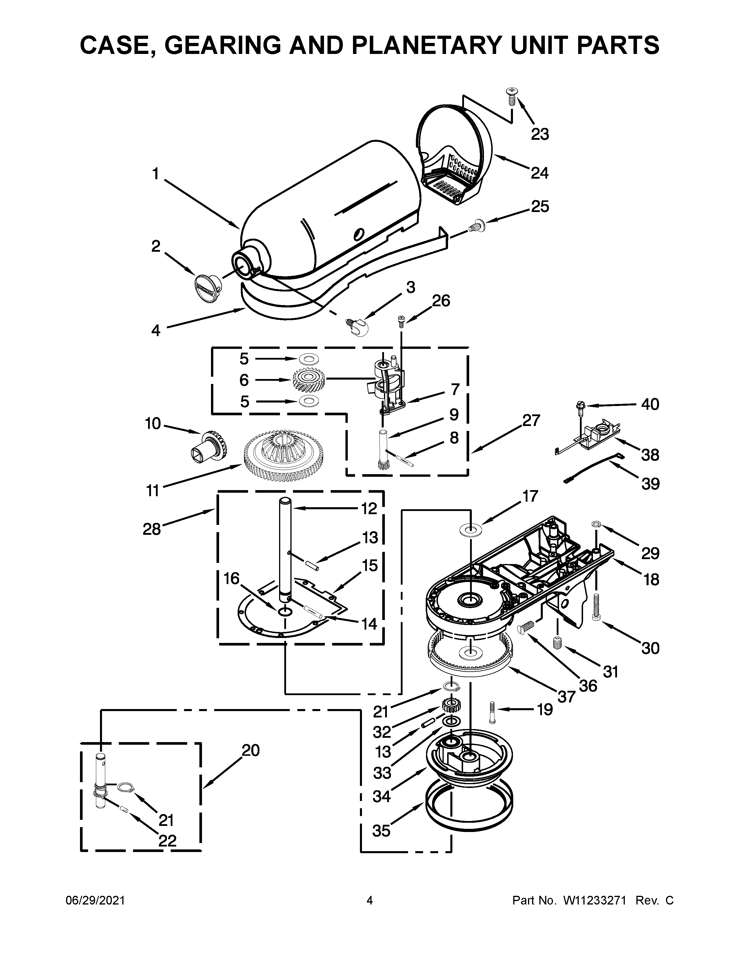
5KSM165PSCAQ0 03 – CASE, GEARING AND PLANETARY UNITadmin2025-04-26T12:51:38+00:005KSM165PSCAQ0 03 – CASE, GEARING AND PLANETARY UNIT ProductsPositionProduct2W11048596 Whirlpool Hub Chrome Cap3WP9709194 Whirlpool Black Thumb Screw5WPW10323373 Whirlpool Washer6WPW10112253 Whirlpool Gear Assembly7W11082541 Whirlpool Bearing8WP9705444 Whirlpool Pin Groove9Shaft & Pinion11W11192794 Whirlpool HUB Gear12WP240026 Whirlpool Control Shaft13Pin (Vertical Center Shaft)14WP9705443 Whirlpool Pin Groove15WP4162324 Whirlpool Case Gasket16O RING17WPW10323378 Whirlpool Washer19W11170598 Whirlpool Screw20WP243368 Whirlpool Agitator Shaft21WP9703438 Whirlpool Snap Retaining Ring22W11664709 Whirlpool Groove Pin23WP241877 Whirlpool Screw25W10853069 Whirlpool Screw26W11097298 Whirlpool Dishwasher Screw27GEAR, WORM AND BRACKET284160474 Whirlpool Control Shaft29WP8533914 Whirlpool Lock30W11173547 Whirlpool Screw31WP3400203 Whirlpool Screw32W11133645 Whirlpool Pinion Gear33WP9706090 Whirlpool Washer34CABINET (NOT A SERVICEABLE PART)35WP240285 Whirlpool Drip Ring36W11028216 Whirlpool Screw37W11340106 Whirlpool Gear Assembly384176340 Whirlpool Refrigerator Mixer Filter39WPL 970231140SCREW