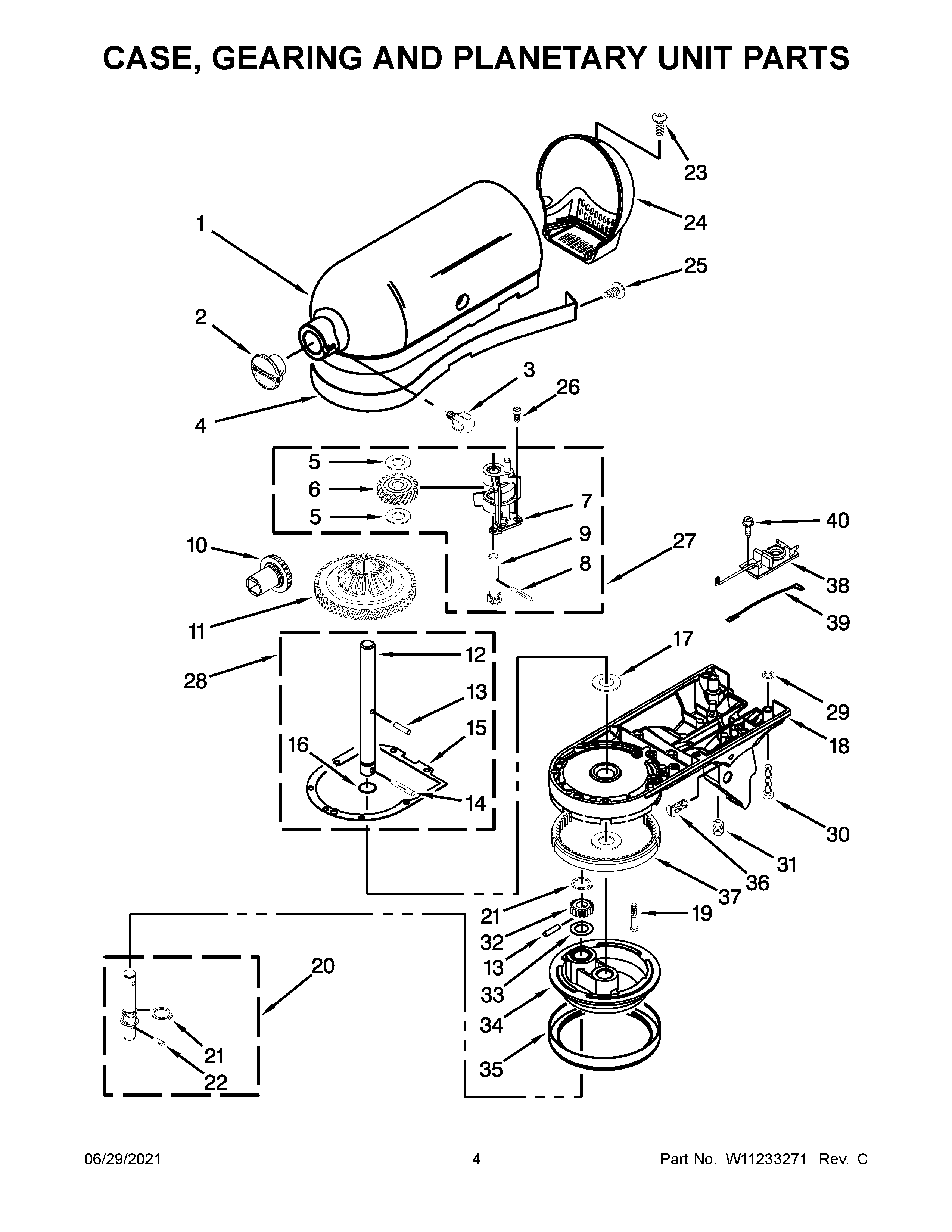
5KSM165PSCPH0 03 – CASE, GEARING AND PLANETARY UNIT