6CE2950XWN0 03 – TOP AND CONSOLEadmin2025-04-26T12:21:46+00:006CE2950XWN0 03 – TOP AND CONSOLE
Products
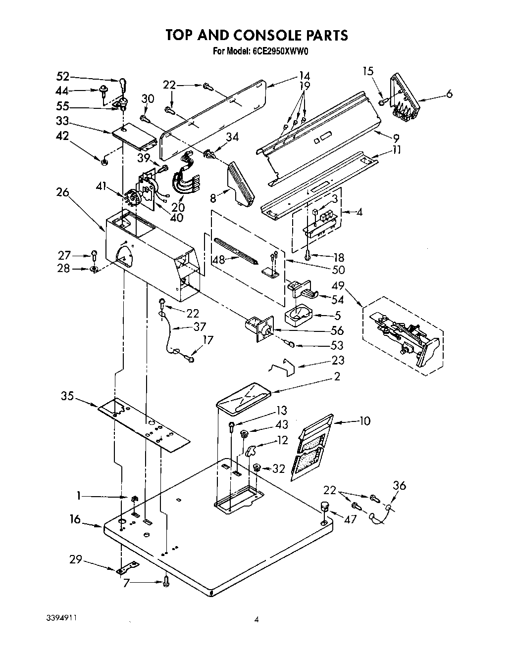
| Position | Product |
|---|
| 1 | Stop, Push-In Top |
| 2 | Cover, Lint Screen (White) |
| 2 | Cover, Lint Screen (Almond) |
| 3 | Button (4) |
| 4 | Switch, Pushbutton |
| 5 | WP385421 Whirlpool Coin Operated Laundry Funnel |
| 6 | WPL 63795 |
| 7 | W10841059 Whirlpool Screw |
| 8 | End Cap (L.H.) |
| 9 | Panel, Control |
| 10 | 339392V Whirlpool Dryer Lint Filter Screen |
| 11 | Bracket, Control |
| 12 | WPW10044470 Whirlpool Hinge Assembly |
| 12 | WPW10044480 Whirlpool Hinge Assembly |
| 13 | W11693756 Whirlpool Screw Assembly |
| 14 | Panel, Rear |
| 15 | WPL 355326 |
| 16 | Top (White) |
| 16 | Top (Almond) |
| 17 | WP90767 Whirlpool Screw |
| 18 | WP965173 Whirlpool Dishwasher Screw |
| 19 | WP3348109 Whirlpool Light Lens |
| 20 | Lights, Indicator (240 Volts) |
| 22 | SCREW |
| 23 | Guide, Drawer |
| 26 | Case, Meter (White) |
| 26 | Case, Meter (Almond) |
| 27 | W11715721 Whirlpool Screw Assembly |
| 28 | Washer (2) |
| 29 | 3347825 Whirlpool Plate |
| 30 | WPL 64211 |
| 32 | 98460 Whirlpool Nut |
| 33 | Door, Service (For Almond Model) |
| 33 | W11283272 Whirlpool Washer Dryer Meter Case Access Door |
| 34 | WP689559 Whirlpool Nut |
| 35 | WP3954812 Whirlpool Cushion |
| 36 | Wire, Ground |
| 37 | Wire, Ground |
| 39 | 339805 Whirlpool Screw |
| 40 | Timer, 60 Hz. (Incl. 4 Pin Cam) |
| 41 | WP3387974 Whirlpool Cam |
| 41 | WP343777 Whirlpool Cam |
| 42 | WP90406 Whirlpool Nut |
| 43 | Nut, Push-In (2) |
| 44 | Screw & Washer |
| 47 | WP387371 Whirlpool Plug |