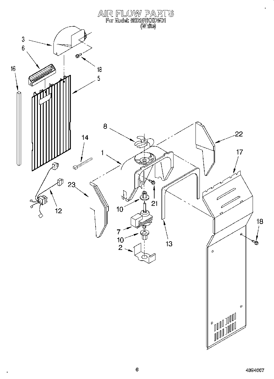
6ED20TKXDW01 04 – AIR FLOW